Скачать ГОСТ 19120-93 Мебель для сидения и лежания. Диваны-кровати, диваны, кресла-кровати, кресла для отдыха, кушетки, тахты, скамьи, банкетки. Методы испытанийДата актуализации: 01.06.2025 ГОСТ 19120-93
Мебель для сидения и лежания. Диваны-кровати, диваны, кресла-кровати, кресла для отдыха, кушетки, тахты, скамьи, банкетки. Методы испытаний
| Обозначение: |  ГОСТ 19120-93 |
| Статус: | действующий |
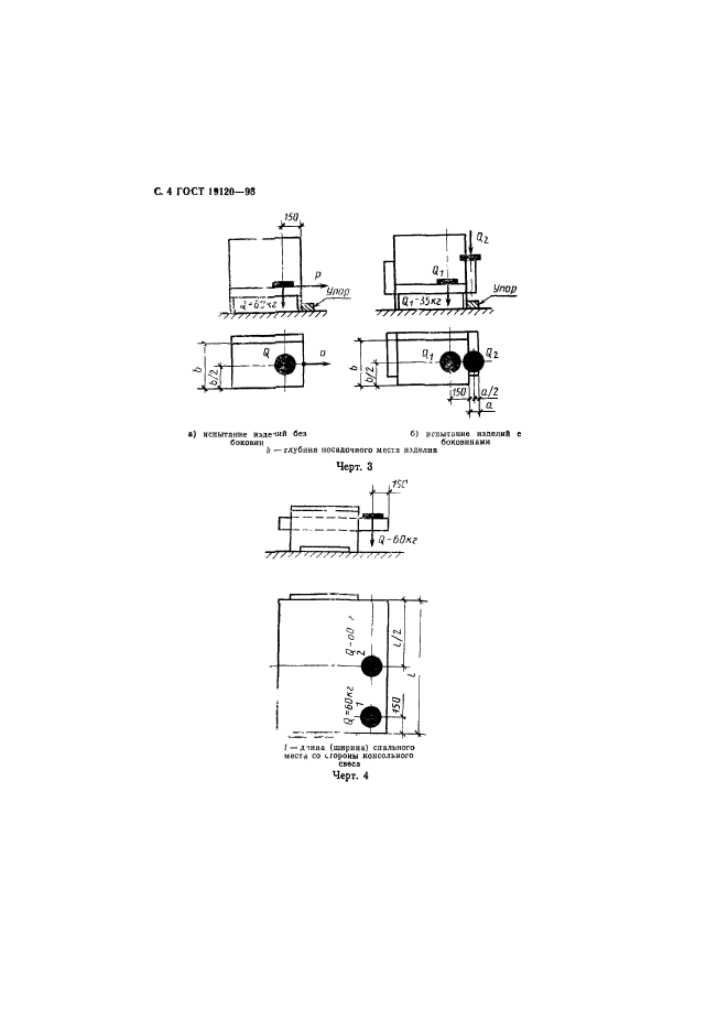
| Название рус.: | Мебель для сидения и лежания. Диваны-кровати, диваны, кресла-кровати, кресла для отдыха, кушетки, тахты, скамьи, банкетки. Методы испытаний | | Название англ.: | Furniture for seating and lying. Sofa-beds, day-beds, easy chairs, ottomens, benches, upholstery stools. Testing methods | | Дата актуализации текста: | 06.04.2015 | | Дата актуализации описания: | 01.07.2023 | | Дата регистрации: | 15.03.1994 | | Дата издания: | 11.10.1994 | | Дата введения: | 01.01.1995 | | Код ОКП: | 560000 | | Взамен: | ГОСТ 19120-79 | | Нормативные ссылки: | ГОСТ 13025.2-85; ГОСТ 14314-94; ГОСТ 19917-93; ГОСТ 19918.3-79; ГОСТ 21640-91 | | Область применения: | Настоящий стандарт распространяется на изделия бытовой мебели и мебели для общественных помещений, предназначенные для сидения и лежания, и устанавливает методы испытаний диванов, диванов-кроватей, кресел-кроватей, кресел для отдыха, кресел-качалок, кушеток, тахт, скамей, банкеток на: устойчивость; статическую прочность навесных боковин; прочность опор (ножек); прочность основания емкости для хранения постельных принадлежностей; долговечность элементов изделия (спинки, сиденья, боковин, беспружинных элементов спальных мест); прочность изделия под ударной нагрузкой. Стандарт не распространяется на шезлонги | | Список изменений: | №1 от 01.01.2009 (рег. 16.10.2008) «Текстовое изменение; Изменены ссылочные НД» | | Приложение №1: | Изменение №1 к ГОСТ 19120-93 | |
                                     
Изменение №1 к ГОСТ 19120-93
| Обозначение: | Изменение №1 к ГОСТ 19120-93 |
| Дата введения: | 01.01.2009 |
        
|