| Обозначение: |  ГОСТ 22334-93 |
| Статус: | действующий |
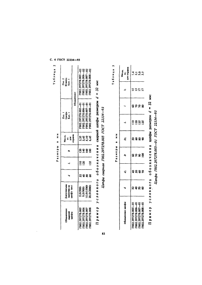
| Название рус.: | Цапфы для деревянных стержневых ящиков. Конструкция |
| Название англ.: | Trunnions for wooden cast patterns. Design |
| Дата актуализации текста: | 06.04.2015 |
| Дата актуализации описания: | 01.07.2023 |
| Дата регистрации: | 21.10.1993 |
| Дата издания: | 27.08.1995 |
| Дата введения: | 01.01.1995 |
| Код ОКП: | 396401 |
| Взамен: | ГОСТ 22334-77 |
| Нормативные ссылки: | ГОСТ 380-88; ГОСТ 977-88; ГОСТ 2590-88; ГОСТ 2789-73; ГОСТ 3212-92; ГОСТ 26645-85 |
| Область применения: | Настоящий стандарт устанавливает конструкцию и размеры цельнолитых и сварных цапф |
|