| Обозначение: |  ГОСТ 23707-95 |
| Статус: | действующий |
| Название рус.: | Инструмент мелкий для обработки почвы. Технические условия |
| Название англ.: | Small tools for cultivation of ground. Specifications |
| Дата актуализации текста: | 06.04.2015 |
| Дата актуализации описания: | 01.07.2023 |
| Дата регистрации: | 26.04.1995 |
| Дата издания: | 23.10.1995 |
| Дата введения: | 01.07.1996 |
| Код ОКП: | 473772 |
| Взамен: | ГОСТ 23707-79 |
| Нормативные ссылки: | ГОСТ 9.032-74; ГОСТ 9.301-86; ГОСТ 9.302-88; ГОСТ 9.303-84; ГОСТ 9.306-85; ГОСТ 9.402-80; ГОСТ 380-88; ГОСТ 515-77; ГОСТ 2695-83; ГОСТ 2991-85; ГОСТ 3282-74; ГОСТ 3560-73; ГОСТ 4976-83; ГОСТ 6465-76; ГОСТ 6631-74; ГОСТ 7016-82; ГОСТ 8273-75; ГОСТ 8486-86; ГОСТ 8828-89; ГОСТ 9569-79; ГОСТ 10354-82; ГОСТ 14192-77; ГОСТ 15140-78; ГОСТ 15150-69; ГОСТ 15612-85; ГОСТ 16588-91; ГОСТ 18099-78; ГОСТ 19024-79; ГОСТ 21996-76; ГОСТ 23170-78; ГОСТ 24784-81 |
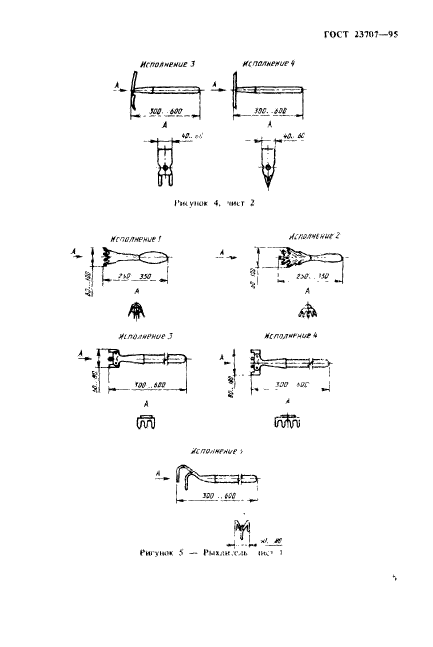
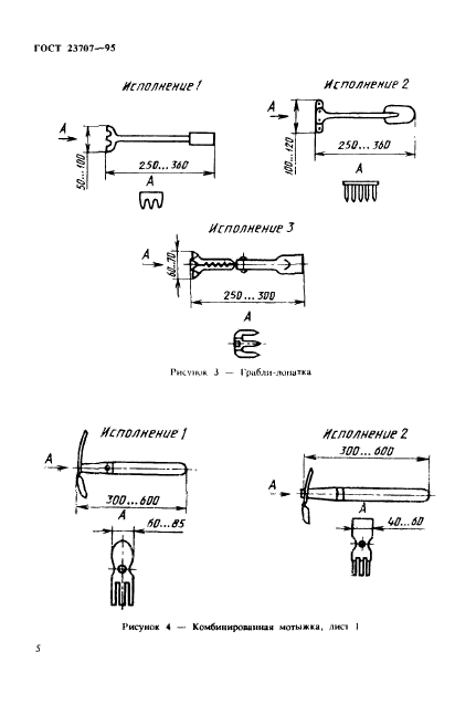
| Область применения: | Настоящий стандарт распространяется на инструмент мелкий: комбинированные мотыжки, мотыжки, рыхлители, посадочные совки и вилки, грабли-лопатки, комбинированные рыхлители, бороздовички, предназначенный для обработки легких и средних почв |
|