| Обозначение: |  ГОСТ 26218-94 |
| Статус: | действующий |
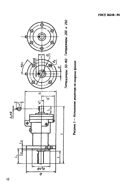
| Название рус.: | Редукторы и мотор-редукторы волновые зубчатые. Параметры и размеры |
| Название англ.: | Harmonic drive reducers and reduction gearmotors. Parameters and dimensions |
| Дата актуализации текста: | 06.04.2015 |
| Дата актуализации описания: | 01.07.2023 |
| Дата регистрации: | 21.10.1994 |
| Дата издания: | 15.07.1996 |
| Дата введения: | 01.07.1996 |
| Код ОКП: | 416100 |
| Взамен: | ГОСТ 24439-80; ГОСТ 26218-84 |
| Нормативные ссылки: | ГОСТ 183-74; ГОСТ 15150-69; ГОСТ 16162-93; ГОСТ 25484-93 |
| Область применения: | Настоящий стандарт распространяется на редукторы и мотор-редукторы волновые зубчатые. Настоящий стандарт не распространяется на редукторы и мотор-редукторы специального назначения |
|