| Обозначение: |  ГОСТ 25310-94 |
| Статус: | действующий |
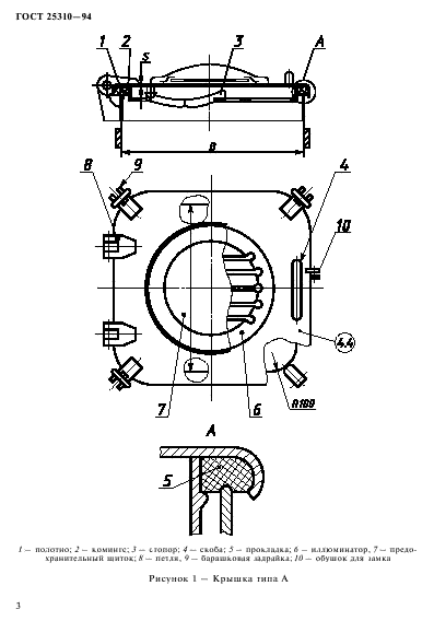
| Название рус.: | Крышки судовых световых люков. Технические условия |
| Название англ.: | Covers of skylights. Specifications |
| Дата актуализации текста: | 06.04.2015 |
| Дата актуализации описания: | 01.07.2023 |
| Дата регистрации: | 21.10.1994 |
| Дата издания: | 09.12.1996 |
| Дата введения: | 01.07.1996 |
| Код ОКП: | 642300 |
| Взамен: | ГОСТ 25310-82 |
| Нормативные ссылки: | ГОСТ 9.014-78; ГОСТ 9.402-80; ГОСТ 26.020-80; ГОСТ 2712-75; ГОСТ 2789-73; ГОСТ 2991-85; ГОСТ 8026-92; ГОСТ 9569-79; ГОСТ 10905-86; ГОСТ 13837-79; ГОСТ 14192-77; ГОСТ 14771-76; ГОСТ 15150-69; ГОСТ 18477-79; ГОСТ 24597-81; ГОСТ 24543-81; ГОСТ 29329-92 |
| Область применения: | Настоящий стандарт распространяется на стальные водонепроницаемые крышки световых судовых люков, применяемые на кораблях, судах и плавсредствах. Стандарт не распространяется на крышки, применяемые на кораблях и судах с динамическими принципами поддержания |
|