| Обозначение: |  ГОСТ 30777-2001 |
| Статус: | заменён |
| Название рус.: | Устройства поворотные, откидные и поворотно-откидные для оконных и балконных дверных блоков. Технические условия |
| Название англ.: | Turned, reclined and turned-reclined devices for windows and balcony doors. Specifications |
| Дата актуализации текста: | 06.04.2015 |
| Дата актуализации описания: | 01.07.2023 |
| Дата регистрации: | 05.12.2001 |
| Дата издания: | 30.10.2002 |
| Дата введения: | 01.10.2002 |
| Дата окончания срока действия: | 01.01.2014 |
| Код ОКП: | 498460 |
| Заменяющий: | ГОСТ 30777-2012 |
| Нормативные ссылки: | ГОСТ 9.032-74; ГОСТ 9.104-79; ГОСТ 9.301-86; ГОСТ 9.303-84; ГОСТ 9.308-85; ГОСТ 9.401-91; ГОСТ 9.402-80; ГОСТ 538-2001; ГОСТ 1050-88; ГОСТ 1583-93; ГОСТ 5949-75; ГОСТ 15140-78; ГОСТ 15150-69; ГОСТ 16338-85; ГОСТ 17711-93; ГОСТ 19424-74; ГОСТ 19459-87; ГОСТ 23166-99; ГОСТ 25140-82 |
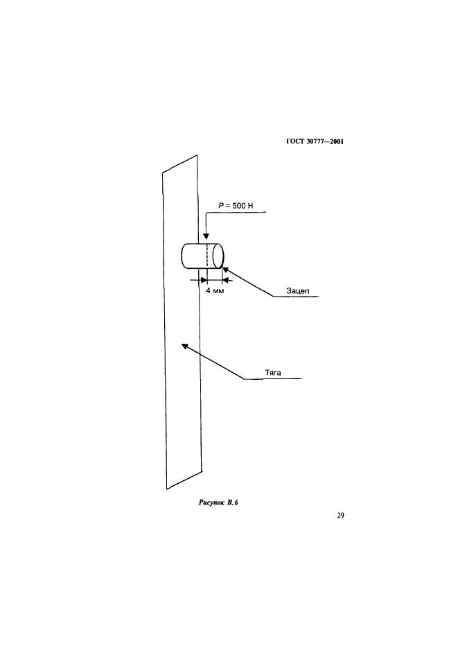
| Область применения: | Настоящий стандарт распространяется на устройства поворотные, откидные и поворотно-откидные для оконных и балконных дверных блоков, применяемых в строительстве жилых и общественных зданий. Стандарт не распространяется на изделия, устанавливаемые на оконные и балконные дверные блоки специального назначения (противовзломные, противопожарные и др.). Стандарт может быть применен для сертификации изделий |
|