| Обозначение: |  ГОСТ 30815-2002 |
| Статус: | заменён |
| Название рус.: | Терморегуляторы автоматические отопительных приборов систем водяного отопления зданий. Общие технические условия |
| Название англ.: | Automatic valves for regulation of temperature in heating devices of systems of water heating of buildings. General specifications |
| Дата актуализации текста: | 06.04.2015 |
| Дата актуализации описания: | 01.07.2023 |
| Дата регистрации: | 24.04.2002 |
| Дата издания: | 11.09.2002 |
| Дата введения: | 01.04.2002 |
| Дата окончания срока действия: | 01.06.2020 |
| Код ОКП: | 499120 |
| Заменяющий: | ГОСТ 30815-2019 |
| Нормативные ссылки: | ГОСТ 2.601-95; ГОСТ 12.2.063-81; ГОСТ 613-79; ГОСТ 2991-85; ГОСТ 5959-80; ГОСТ 6357-81; ГОСТ 10589-87; ГОСТ 14192-96; ГОСТ 15150-69; ГОСТ 15527-70; ГОСТ 17711-93; ГОСТ 26663-85; ГОСТ 26996-86 |
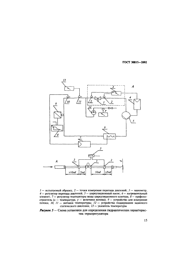
| Область применения: | Настоящий стандарт распространяется на автоматические терморегулирующие клапаны, работающие без использования постороннего источника энергии (прямого действия), предназначенные для регулирования тепловой мощности отопительных приборов в системах водяного отопления зданий и сооружений. Терморегуляторы предназначены для работы в следующих условиях:- параметры теплоносителя: избыточное рабочее давление - до 1,0 МПа включительно, температура - до 120 град. С;- параметры окружающей среды: температура 5-45 град. С, относительная влажность 30-80% |
|