| Обозначение: |  ГОСТ 13159-67 |
| Статус: | действующий |
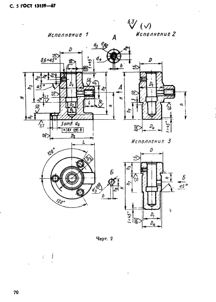
| Название рус.: | Опоры самоустанавливающиеся для станочных приспособлений. Конструкция |
| Название англ.: | Djustable jacks for machine retaining devices. Design and dimensions |
| Дата актуализации текста: | 06.04.2015 |
| Дата актуализации описания: | 01.07.2023 |
| Дата издания: | 01.05.1990 |
| Дата введения: | 01.07.1968 |
| Код ОКП: | 396100 |
| Взамен: | МН 351-60 |
| Нормативные ссылки: | ГОСТ 1478-75; ГОСТ 3128-70; ГОСТ 4742-68; ГОСТ 13428-68; ГОСТ 13165-67; ГОСТ 1491-72; ГОСТ 977-75; ГОСТ 1050-74; ГОСТ 16093-70; ГОСТ 10549-63; ГОСТ 8820-69; ГОСТ 9.073-77;СТ СЭВ 182-75 |
| Область применения: | Настоящий стандарт распространяется на самоустанавливающиеся опоры, которые являются вспомогательно-установочными и предназначены для увеличения жесткости детали и для сообщения ей большей устойчивости при обработке |
| Список изменений: | №1 от 01.12.1980 (рег. 29.06.1980) «Срок действия продлен» №2 от 01.01.1989 (рег. 17.03.1988) «Поправка» |
|