| Обозначение: |  ГОСТ 16238-70 |
| Статус: | действующий |
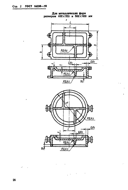
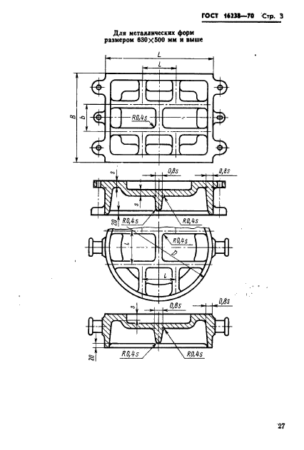
| Название рус.: | Формы металлические (кокили). Ребра жесткости. Размеры |
| Название англ.: | Chill moulds. Ribs of rigidity. Dimensions |
| Дата актуализации текста: | 06.04.2015 |
| Дата актуализации описания: | 01.01.2021 |
| Дата издания: | 01.05.1982 |
| Дата введения: | 01.01.1972 |
| Код ОКП: | 396610 |
| Взамен: | МН 752-60 |
| Нормативные ссылки: | ГОСТ 16237-70 |
| Область применения: | Настоящий стандарт распространяется на металлические формы (вытряхные, створчатые и с параллельным разъемом) и устанавливает размеры и расположение ребер жесткости |
|