Скачать ГОСТ 17130-71 Опоки литейные сварные из литых стальных элементов прямоугольные размерами в свету: длиной от 900 до 1200 мм, шириной 700, 800 мм, высотой от 150 до 400 мм. Конструкция и размерыДата актуализации: 01.06.2025 ГОСТ 17130-71
Опоки литейные сварные из литых стальных элементов прямоугольные размерами в свету: длиной от 900 до 1200 мм, шириной 700, 800 мм, высотой от 150 до 400 мм. Конструкция и размеры
| Обозначение: |  ГОСТ 17130-71 |
| Статус: | действующий |
| Название рус.: | Опоки литейные сварные из литых стальных элементов прямоугольные размерами в свету: длиной от 900 до 1200 мм, шириной 700, 800 мм, высотой от 150 до 400 мм. Конструкция и размеры | | Название англ.: | Rectangular weld moulding boxes of cast steel elements having inside dimensions: length from 900 to 1200 mm, width 700; 800 mm, height from 150 to 400 mm. Construction and dimensions | | Дата актуализации текста: | 06.04.2015 | | Дата актуализации описания: | 01.07.2023 | | Дата издания: | 23.11.1971 | | Дата введения: | 01.01.1973 | | Код ОКП: | 396190 | | Взамен в части: | МН 1273-60 в части опок "Н" до 400 мм | | Нормативные ссылки: | ГОСТ 103-76; ГОСТ 535-88; ГОСТ 5264-69; ГОСТ 15019-69; ГОСТ 17132-71 | | Область применения: | Настоящий стандарт распространяется на литейные прямоугольные сварные опоки из литых стальных элементов, предназначенные для изготовления песчаных литейных форм при машинной и ручной формовке. Стандарт не распространяется на опоки, применяемые при формовке методом прессования под высоким удельным давлением | | Список изменений: | №1 от 01.01.1981 (рег. 16.07.1980) «Срок действия продлен» №2 от 01.05.1989 (рег. 16.11.1988) «Срок действия продлен» | |
                
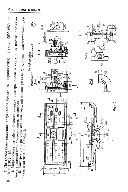
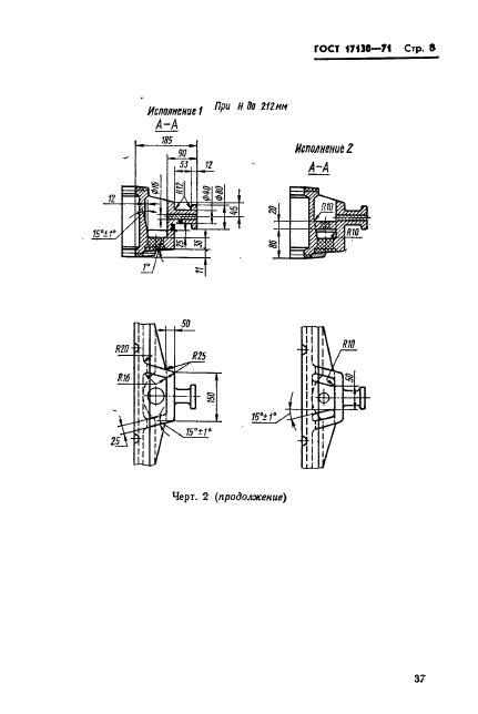
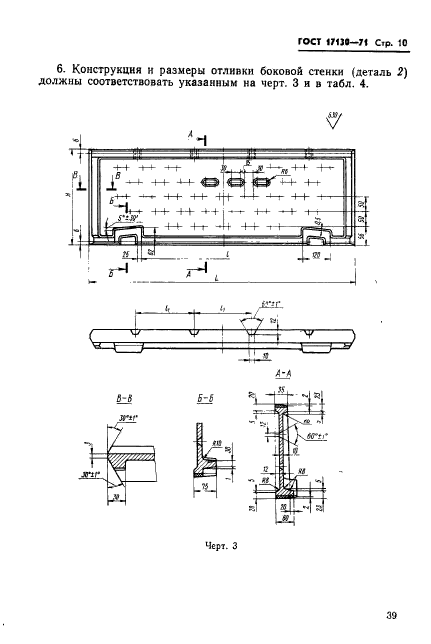
|