| Обозначение: |  ГОСТ 17663-72 |
| Статус: | действующий |
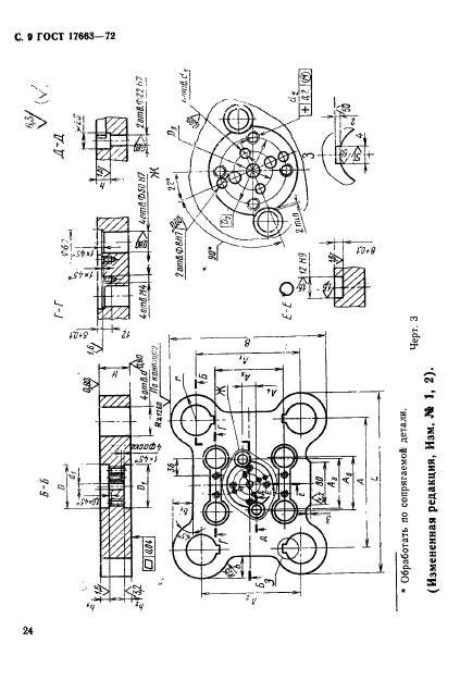
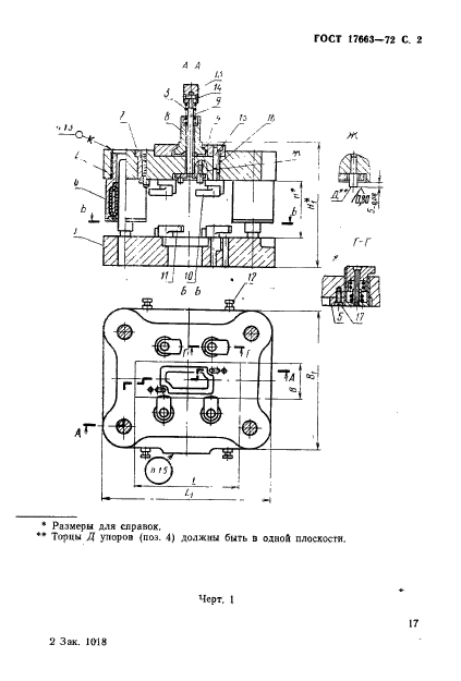
| Название рус.: | Блоки сменных разделительных штампов листовой штамповки с четырьмя направляющими колонками. Конструкция и размеры |
| Название англ.: | Units for changeable sheet stamping cutting dies with four guide posts. Construction and dimensions |
| Дата актуализации текста: | 06.04.2015 |
| Дата актуализации описания: | 01.07.2023 |
| Дата издания: | 01.03.1994 |
| Дата введения: | 01.07.1973 |
| Код ОКП: | 396330 |
| Нормативные ссылки: | ГОСТ 977-88; ГОСТ 1050-88; ГОСТ 1491-80; ГОСТ 3128-70; ГОСТ 18816-80; ГОСТ 10774-80; ГОСТ 11738-84; ГОСТ 13130-83; ГОСТ 16719-71; ГОСТ 17662-72; ГОСТ 17664-72; ГОСТ 17665-72; ГОСТ 17666-72; ГОСТ 17667-72; ГОСТ 17671-72; ГОСТ 17695-72 |
| Область применения: | Настоящий стандарт устанавливает конструкцию и размеры блоков сменных разделительных штампов листовой штамповки |
| Список изменений: | №1 от 01.07.1981 (рег. 16.03.1981) «Срок действия продлен» №2 от 01.03.1987 (рег. 04.09.1986) «Срок действия продлен» |
|