| Обозначение: |  ГОСТ 19021-73 |
| Статус: | действующий |
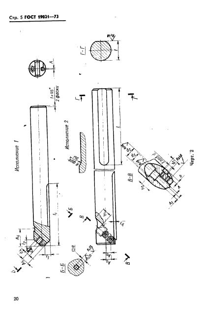
| Название рус.: | Державки расточные для косого крепления резца винтами к токарно-револьверным станкам. Конструкция и размеры |
| Название англ.: | Boring holders for an angled screw fastening of a cutting tool for turret-lathes. Design and dimensions |
| Дата актуализации текста: | 06.04.2015 |
| Дата актуализации описания: | 01.07.2023 |
| Дата издания: | 01.10.1980 |
| Дата введения: | 01.07.1974 |
| Код ОКП: | 392850;392851;396100 |
| Взамен: | МН 1032-60 |
| Нормативные ссылки: | ГОСТ 13896-68; ГОСТ 13897-68; ГОСТ 1050-74; ГОСТ 16093-70; ГОСТ 10549-63; ГОСТ 17166-71;СТ СЭВ 182-75 |
| Область применения: | Настоящий стандарт распространяется на расточные державки, применяемые в револьверных головках с вертикальной и горизонтальной осью вращения токарно-револьверных станков |
| Список изменений: | №1 от 01.04.1980 (рег. 30.03.1980) «Срок действия продлен» №2 от 01.09.1990 (рег. 27.02.1990) «Срок действия продлен» |
|