Скачать ГОСТ 20095-74 Плиты модельные чугунные со сменными металлическими вкладышами для опок размерами в свету 600х500 мм, 800х700 мм, 1000х800 мм на формовочные литейные машины с поворотом полуформы с допрессовкой. Конструкция и размерыДата актуализации: 01.06.2025 ГОСТ 20095-74
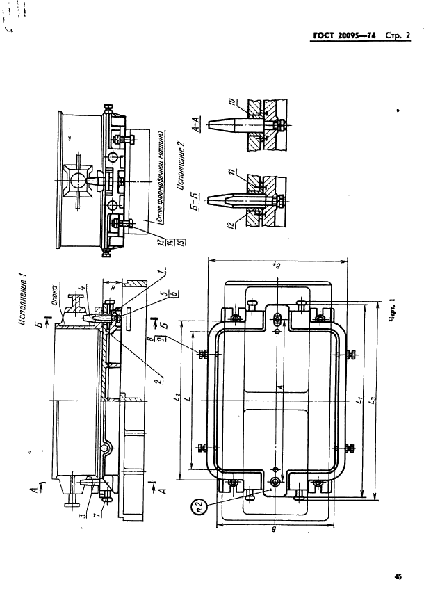
Плиты модельные чугунные со сменными металлическими вкладышами для опок размерами в свету 600х500 мм, 800х700 мм, 1000х800 мм на формовочные литейные машины с поворотом полуформы с допрессовкой. Конструкция и размеры
| Обозначение: |  ГОСТ 20095-74 |
| Статус: | действующий |
| Название рус.: | Плиты модельные чугунные со сменными металлическими вкладышами для опок размерами в свету 600х500 мм, 800х700 мм, 1000х800 мм на формовочные литейные машины с поворотом полуформы с допрессовкой. Конструкция и размеры | | Название англ.: | Iron pattern plates with changeable metal inserts for moulding boxes having inside dimensions 600x500 mm, 800x700 mm, 1000x800 mm moulding foundry machines with turn of half mould with squeezing. Design and dimensions | | Дата актуализации текста: | 06.04.2015 | | Дата актуализации описания: | 01.07.2023 | | Дата издания: | 22.10.1974 | | Дата введения: | 01.01.1976 | | Код ОКП: | 396000 | | Взамен: | МН 1305-60 | | Нормативные ссылки: | ГОСТ 5927-70; ГОСТ 6402-70; ГОСТ 7808-70; ГОСТ 13434-68; ГОСТ 15020-69; ГОСТ 17475-72; ГОСТ 20122-74; ГОСТ 20123-74; ГОСТ 20126-74; ГОСТ 20127-74; ГОСТ 20131-80 | | Область применения: | Настоящий стандарт устанавливает конструкцию и размеры модельных плит | | Список изменений: | №1 от 01.10.1981 (рег. 01.06.1981) «Срок действия продлен» | |
     
|