| Обозначение: |  ГОСТ 20118-74 |
| Статус: | действующий |
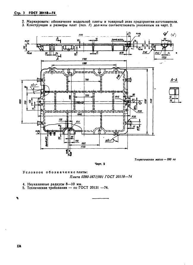
| Название рус.: | Плиты модельные стальные для опок размерами в свету 1600х1200 мм на формовочные литейные машины с поворотом полуформы без допрессовки. Конструкция и размеры |
| Название англ.: | Steel pattern plates for moulding boxes having inside dimensions 1600x1200 mm for moulding foundry machines with turn of half mould without squeezing. Design and dimensions |
| Дата актуализации текста: | 06.04.2015 |
| Дата актуализации описания: | 01.07.2023 |
| Дата издания: | 22.10.1974 |
| Дата введения: | 01.01.1976 |
| Код ОКП: | 396190 |
| Взамен: | МН 3273-62 |
| Нормативные ссылки: | ГОСТ 5927-70; ГОСТ 6402-70; ГОСТ 13152-67; ГОСТ 19391-74; ГОСТ 20122-74; ГОСТ 20123-74; ГОСТ 20128-74; ГОСТ 20131-80 |
| Область применения: | Настоящий стандарт устанавливает конструкцию и размеры модельных плит |
| Список изменений: | №1 от 01.10.1981 (рег. 01.06.1981) «Срок действия продлен» |
|