| Обозначение: |  ГОСТ 21190-75 |
| Статус: | действующий |
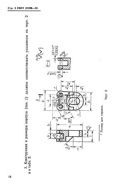
| Название рус.: | Люнеты роликовые к державкам для токарно-револьверных автоматов. Конструкция и размеры |
| Название англ.: | Roll supports for automatic turret lathe holders. Design and dimensions |
| Дата актуализации текста: | 06.04.2015 |
| Дата актуализации описания: | 01.07.2023 |
| Дата издания: | 01.04.1982 |
| Дата введения: | 01.01.1977 |
| Код ОКП: | 392800 |
| Взамен: | МН 1202-60 |
| Нормативные ссылки: | ГОСТ 9.073-77; ГОСТ 801-78; ГОСТ 1050-74; ГОСТ 3128-70; ГОСТ 5927-70; ГОСТ 8820-69; ГОСТ 10549-80; ГОСТ 11371-78; ГОСТ 16093-81; ГОСТ 17166-71; ГОСТ 21187-75; ГОСТ 21188-75; ГОСТ 24705-81 |
| Область применения: | Настоящий стандарт распространяется на роликовые люнеты к державкам для токарно-револьверных автоматов |
| Список изменений: | №1 от 30.06.1982 (рег. 26.02.1982) «Срок действия продлен» |
|