| Обозначение: |  ГОСТ 21222-75 |
| Статус: | действующий |
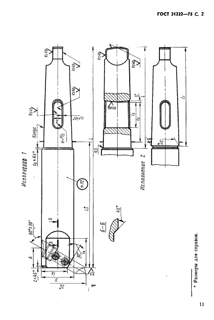
| Название рус.: | Оправки расточные консольные с креплением резца под углом 60 град. и коническим хвостовиком. Конструкция и размеры |
| Название англ.: | Console boring bars with cutter fitting at 60 deg. and taper shank. Design and dimensions |
| Дата актуализации текста: | 06.04.2015 |
| Дата актуализации описания: | 01.07.2023 |
| Дата издания: | 01.12.1987 |
| Дата введения: | 01.01.1977 |
| Код ОКП: | 392800 |
| Взамен: | МН 2646-61 |
| Нормативные ссылки: | ГОСТ 2789-73; ГОСТ 8820-69; ГОСТ 13895-75; ГОСТ 24644-81;СТ СЭВ 1786-79 |
| Область применения: | Настоящий стандарт распространяется на расточные консольные оправки с креплением резца под углом 60 град. и коническим хвостовиком, предназначенные для обработки глухих отверстий |
| Список изменений: | №1 от 30.06.1982 (рег. 26.02.1982) «Срок действия продлен» |
|