| Обозначение: |  ГОСТ 1126-77 |
| Статус: | действующий |
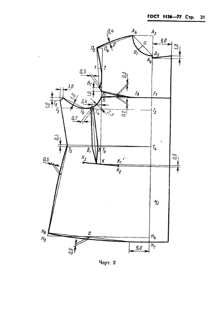
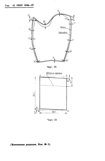
| Название рус.: | Одежда форменная. Куртки хлопчатобумажные утепленные с кокеткой. Технические условия |
| Название англ.: | Warmed cotton jackets with yoke. Specifications |
| Дата актуализации текста: | 06.04.2015 |
| Дата актуализации описания: | 01.07.2023 |
| Дата издания: | 01.12.1984 |
| Дата введения: | 01.07.1978 |
| Код ОКП: | 852111 |
| Взамен: | ГОСТ 1126-69 |
| Нормативные ссылки: | ГОСТ 19196-73; ГОСТ 9009-77; ГОСТ 12239-76; ГОСТ 7259-77; ГОСТ 7896-76; ГОСТ 19008-73; ГОСТ 5679-74; ГОСТ 4661-76; ГОСТ 6309-80; ГОСТ 20757-75; ГОСТ 11259-79; ГОСТ 12807-79; ГОСТ 23019-78; ГОСТ 4103-82; ГОСТ 19159-73; ГОСТ 15846-79 |
| Область применения: | Настоящий стандарт распространяется на хлопчатобумажные утепленные куртки с кокеткой, изготовляемые по госзаказу для военнослужащих Советской Армии, Министерства внутренних дел СССР и военных строителей |
| Список изменений: | №1 от 01.07.1983 (рег. 27.09.1982) «Срок действия продлен» №2 от 01.07.1983 (рег. 28.09.1982) «Срок действия продлен» №3 от 01.03.1985 (рег. 10.09.1984) «Срок действия продлен» №4 от 01.09.1988 (рег. 23.03.1988) «Срок действия продлен» |
|