| Обозначение: |  ГОСТ 14956-79 |
| Статус: | действующий |
| Название рус.: | Фрезы дереворежущие насадные цилиндрические сборные. Типы, основные параметры и размеры |
| Название англ.: | Shell type inserted beade circular cutterbloks for woodcutting. Types. Main parameters and dimensions |
| Дата актуализации текста: | 06.04.2015 |
| Дата актуализации описания: | 01.07.2023 |
| Дата издания: | 16.10.1979 |
| Дата введения: | 01.01.1981 |
| Код ОКП: | 395271 |
| Взамен: | ГОСТ 14956-69 |
| Нормативные ссылки: | ГОСТ 6567-75; ГОСТ 1476-75; ГОСТ 3128-70; ГОСТ 13834-77; ГОСТ 13932-68 |
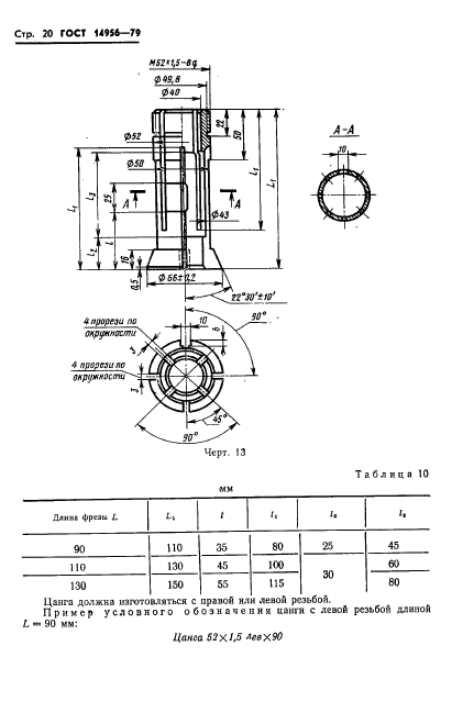
| Область применения: | Настоящий стандарт распространяется на насадные цилиндрические сборные фрезы, предназначенные для обработки древесины и древесных материалов на фрезерных и четырехсторонних строгальных станках. Фрезы должны изготовляться типов: 1 - с непосредственной посадкой на шпиндель; 2 - с креплением на двух цангах гайками; 3 - с креплением на двух цангах через промежуточные упорные кольца; 4 - с креплением на цанге; 5 - с креплением на патроне |
|