| Обозначение: |  ГОСТ 13235-79 |
| Статус: | действующий |
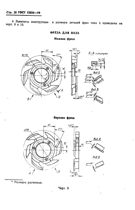
| Название рус.: | Фрезы дереворежущие насадные с затылованными зубьями для обработки пазов и гребней. Конструкция и размеры |
| Название англ.: | Relived woodworking cutters for tongue and groovs cutting. Design and dimensions |
| Дата актуализации текста: | 06.04.2015 |
| Дата актуализации описания: | 01.07.2023 |
| Дата издания: | 01.07.1986 |
| Дата введения: | 01.01.1981 |
| Код ОКП: | 395220 |
| Взамен: | ГОСТ 13235-67 |
| Нормативные ссылки: | ГОСТ 9330-76; ГОСТ 8242-75; ГОСТ 22749-77 |
| Область применения: | Настоящий стандарт распространяется на насадные цельные и составные фрезы с затылованными зубьями, предназначенные для обработки сопрягаемых пазов и гребней в древесине на четырехсторонних строгальных станках |
| Список изменений: | №1 от 01.01.1986 (рег. 08.02.1985) «Срок действия продлен» |
|