| Обозначение: |  ГОСТ 20958-80 |
| Статус: | действующий |
| Название рус.: | Лента магнитная без записи шириной 12,7 мм с катушкой. Общие технические условия |
| Название англ.: | Unrecorded 12,7 mm magnetic tapes with bobbin for computers. General specifications |
| Дата актуализации текста: | 06.04.2015 |
| Дата актуализации описания: | 01.07.2023 |
| Дата издания: | 01.07.2000 |
| Дата введения: | 01.01.1982 |
| Код ОКП: | 237431 |
| Взамен: | ГОСТ 20958-75 |
| Содержит требования: | СТ СЭВ 3420-81 |
| Нормативные ссылки: | ISO 1864:1985; ГОСТ 1760-86; ГОСТ 2789-73; ГОСТ 2991-85; ГОСТ 7376-89; ГОСТ 8303-93; ГОСТ 9078-84; ГОСТ 9569-79; ГОСТ 10354-82; ГОСТ 13841-95; ГОСТ 14192-96; ГОСТ 18573-86; ГОСТ 20731-86; ГОСТ 25764-83; ГОСТ 26178-84 |
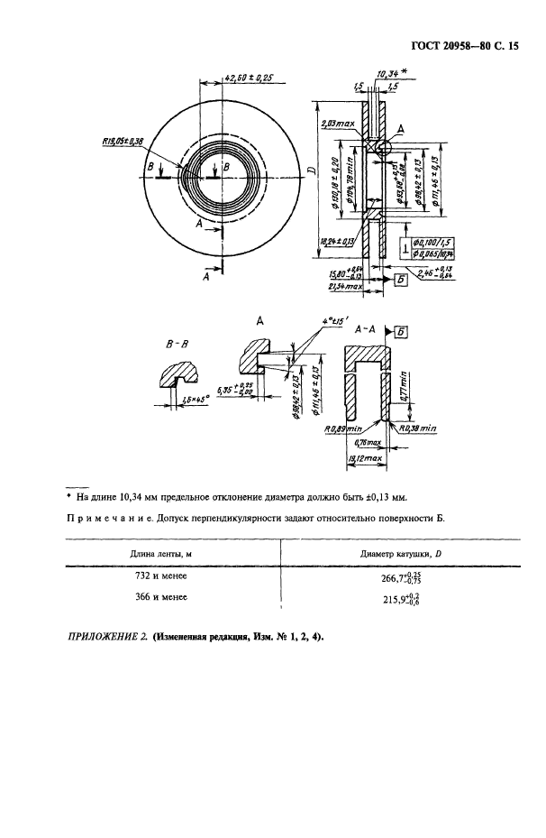
| Область применения: | Настоящий стандарт распространяется на магнитные ленты без записи шириной 12,7 мм с катушкой, предназначенные для записи информации с плотностью 32 и 356 переходов потока на 1 мм (п.п./мм) способом без возвращения к нулю или 126 п.п./мм способом фазокодирования с продольной намагниченностью в накопителях на магнитных лентах для электронных вычислительных машин |
| Список изменений: | №1 от 01.11.1984 (рег. 12.08.1984) «Срок действия продлен» №2 от 01.01.1987 (рег. 24.04.1986) «Поправка» №3 от 01.09.1988 (рег. 18.04.1988) «Срок действия продлен» №4 от 01.09.1991 (рег. 24.03.1991) «Срок действия продлен» |
|