| Обозначение: |  ГОСТ 13218.9-80 |
| Статус: | действующий |
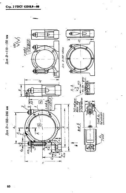
| Название рус.: | Корпуса типа РШ подшипников качения. Конструкция и размеры |
| Название англ.: | Pillow blocks of serie РШ for rolling bearings. Construction and dimensions |
| Дата актуализации текста: | 06.04.2015 |
| Дата актуализации описания: | 01.01.2021 |
| Дата издания: | 01.04.1981 |
| Дата введения: | 01.01.1982 |
| Код ОКП: | 418300 |
| Взамен: | ГОСТ 13218.9-67 |
| Область применения: | Настоящий стандарт распространяется на разъемные широкие корпуса типа РШ со сквозным отверстием |
|