| Обозначение: |  ГОСТ 16665-80 |
| Статус: | действующий |
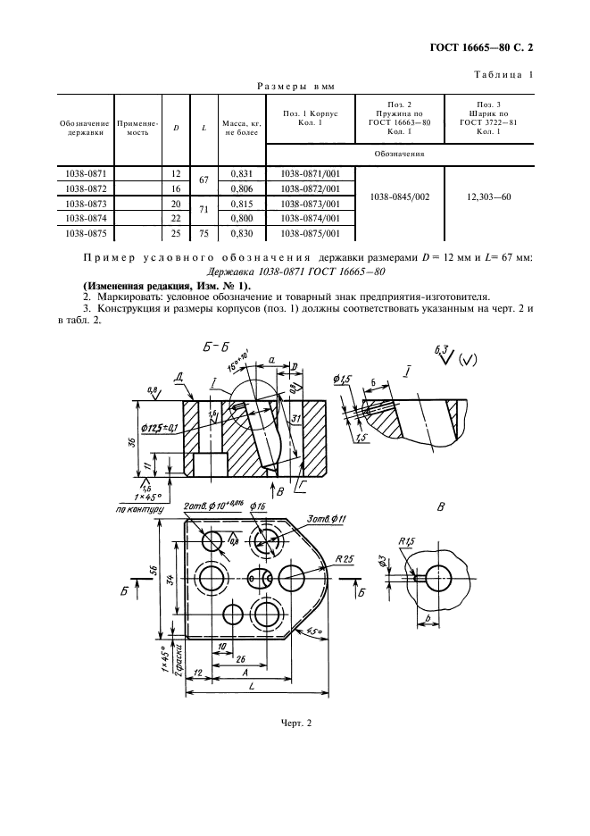
| Название рус.: | Державки удлиненные с усиленным шариковым креплением пуансонов. Конструкция и размеры |
| Название англ.: | Oblong holders with reinforced ball mounting of punches. Construction and dimensions |
| Дата актуализации текста: | 06.04.2015 |
| Дата актуализации описания: | 01.01.2021 |
| Дата издания: | 01.10.1999 |
| Дата введения: | 01.01.1981 |
| Код ОКП: | 396300 |
| Взамен: | ГОСТ 16665-71 |
| Нормативные ссылки: | ГОСТ 16675-80 |
| Область применения: | Настоящий стандарт распространяется на конструкции и размеры удлиненных державок с усиленным шариковым креплением пуансонов |
| Список изменений: | №1 от 01.01.1986 (рег. 25.06.1985) «Срок действия продлен» |
|