| Обозначение: |  ГОСТ 24232-80 |
| Статус: | действующий |
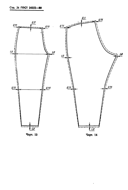
| Название рус.: | Брюки утепленные форменные для офицеров. Технические условия |
| Название англ.: | Warm trousers uniform for officers. Specifications |
| Дата актуализации текста: | 06.04.2015 |
| Дата актуализации описания: | 01.07.2023 |
| Дата издания: | 01.12.1984 |
| Дата введения: | 01.01.1982 |
| Код ОКП: | 852054 |
| Нормативные ссылки: | ГОСТ 4103-82; ГОСТ 5665-77; ГОСТ 5679-85; ГОСТ 6309-87; ГОСТ 9009-77; ГОСТ 11109-90; ГОСТ 11259-79; ГОСТ 18273-89; ГОСТ 19008-82; ГОСТ 19159-85; ГОСТ 19196-80; ГОСТ 20757-75; ГОСТ 23167-78; ГОСТ 24782-90;ОСТ 17-165-88;ОСТ 17-284-87;ОСТ 17-466-85;ОСТ 17-602-81;ОСТ 17-805-85;ТУ 6-19-137-79;ТУ 17-21-201-77;ТУ РСФСР 21.2-234-4-90;ТУ 17 РСФСР 17-35-57-90;ТУ 17 РСФСР 59-11297-86;ТУ 17 РСФСР 60-10724-84;ТУ 17 РСФСР 60-11052-85;ТУ 17 РСФСР 63-9405-79;ТУ 17 РСФСР 67-10747-86;ТУ 17 РСФСР 67-11035-85;ТУ 17 РСФСР 67-11201-88;ТУ 17 УзССР 02-01-28-90 |
| Область применения: | Настоящий стандарт распространяется на форменные утепленные брюки, предназначенные для военнослужащих Советской Армии, МВД СССР и КГБ СССР |
| Список изменений: | №1 от 01.02.1985 (рег. 12.09.1984) «Срок действия продлен» №2 от 01.02.1987 (рег. 02.09.1986) «Срок действия продлен» №3 от 01.05.1992 (рег. 09.12.1991) «Срок действия продлен» |
|