| Обозначение: |  ГОСТ 24434-80 |
| Статус: | не действует в РФ |
| Название рус.: | Панели слоистые с утеплителем из пенопластов для стен и покрытий зданий. Пенопласты. Метод определения усадки |
| Название англ.: | Laminated wall and roof panels with plastic foam thermal insulation. Plastic foams. Method of determining shrinkage |
| Дата актуализации текста: | 06.04.2015 |
| Дата актуализации описания: | 01.07.2023 |
| Дата издания: | 17.03.1981 |
| Дата введения: | 01.01.1982 |
| Дата окончания срока действия: | 01.09.2022 |
| Код ОКП: | 224400;225400 |
| На территории РФ пользоваться: | ГОСТ Р 59686-2021 |
| Нормативные ссылки: | ГОСТ 166-73; ГОСТ 577-68; ГОСТ 1033-79; ГОСТ 6267-74 |
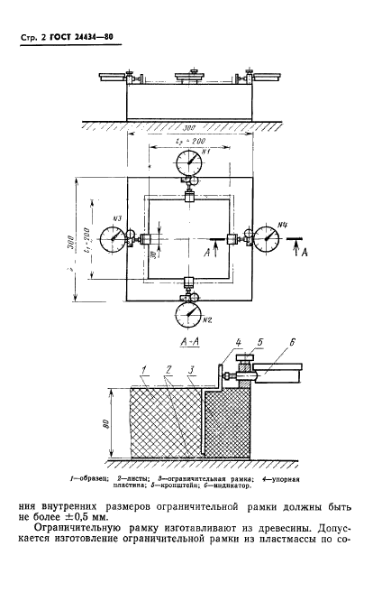
| Область применения: | Настоящий стандарт распространяется на слоистые панели с конструкционным утеплителем из заливочных пенопластов (с листами из металла, асбоцемента, древесноволокнистых и древесностружечных плит, фанеры, стеклопластиков и др.) для стен и покрытий зданий и устанавливает метод определения технологической усадки утеплителя, появляющейся после формования пенопласта в полости панелей |
|