| Обозначение: |  ГОСТ 2906-80 |
| Статус: | действующий |
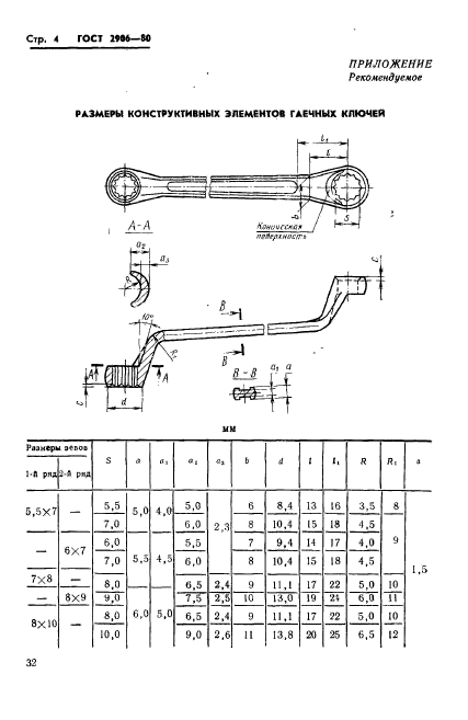
| Название рус.: | Ключи гаечные кольцевые двусторонние коленчатые. Конструкция и размеры |
| Название англ.: | Double-ended bent ring spanners. Construction and dimensions |
| Дата актуализации текста: | 06.04.2015 |
| Дата актуализации описания: | 01.01.2021 |
| Дата издания: | 01.09.1986 |
| Дата введения: | 01.01.1981 |
| Код ОКП: | 392651 |
| Взамен: | ГОСТ 2906-71 |
| Содержит требования: | СТ СЭВ 1292-84 |
| Область применения: | Настоящий стандарт распространяется на гаечные кольцевые двусторонние коленчатые ключи с размерами зевов от 5,5х7 до 50х55 мм, изготовляемые для нужд народного хозяйства и для экспорта |
| Список изменений: | №1 от 01.01.1986 (рег. 24.04.1985) «Срок действия продлен» |
|