| Обозначение: |  ГОСТ 24913-81 |
| Статус: | действующий |
| Название рус.: | Костюм специальный утепленный для военнослужащих. Технические условия |
| Название англ.: | Special army uniform with underlining. Specifications |
| Дата актуализации текста: | 06.04.2015 |
| Дата актуализации описания: | 01.07.2023 |
| Дата издания: | 01.03.1990 |
| Дата введения: | 01.01.1983 |
| Код ОКП: | 850000 |
| Нормативные ссылки: | ГОСТ 4103-82; ГОСТ 5665-77; ГОСТ 5679-85; ГОСТ 6309-87; ГОСТ 7259-77; ГОСТ 7297-75; ГОСТ 11259-79; ГОСТ 12807-79; ГОСТ 19008-82; ГОСТ 19159-85; ГОСТ 19196-80; ГОСТ 20757-75; ГОСТ 21790-76; ГОСТ 23167-78; ГОСТ 24782-81; ГОСТ 27542-87;ОСТ 17-48-88;ОСТ 17-148-72;ОСТ 17-165-79;ОСТ 17-284-87;ОСТ 17-466-85;ОСТ 17-602-81;ОСТ 17-624-87;ОСТ 17-769-75;ОСТ 17-805-85;ОСТ 17-835-80;ОСТ 17-921-88;ТУ 6-19-137-79;ТУ 17-21-201-77;ТУ 17 РСФСР 50-6597-84;ТУ 17 РСФСР 59-11297-86;ТУ 17 РСФСР 60-10724-84;ТУ 17 РСФСР 62-11025-85;ТУ 17 РСФСР 63-9405-79;ТУ 17 РСФСР 67-10747-86 |
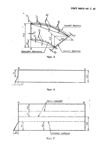
| Область применения: | Настоящий стандарт распространяется на зимний костюм со съемным утеплителем - куртка, брюки и капюшон, предназначенный в качестве спецодежды для военнослужащих Советской Армии и Министерства внутренних дел СССР |
| Список изменений: | №0 от 20.08.1987 (рег. 19.08.1987) «Срок действия продлен» №1 от 31.03.1985 (рег. 29.10.1984) «Срок действия продлен» №2 от 01.07.1987 (рег. 03.02.1987) «Срок действия продлен» №3 от 01.06.1988 (рег. 15.12.1987) «Срок действия продлен» №4 от 01.07.1990 (рег. 14.09.1989) «Срок действия продлен» |
|