| Обозначение: |  ГОСТ 24932-81 |
| Статус: | действующий |
| Название рус.: | Калибры для конических соединений. Допуски |
| Название англ.: | Gauges for tapered joints. Tolerances |
| Дата актуализации текста: | 06.04.2015 |
| Дата актуализации описания: | 01.01.2021 |
| Дата издания: | 01.05.2003 |
| Дата введения: | 01.01.1982 |
| Код ОКП: | 393100 |
| Содержит требования: | СТ СЭВ 2013-79 |
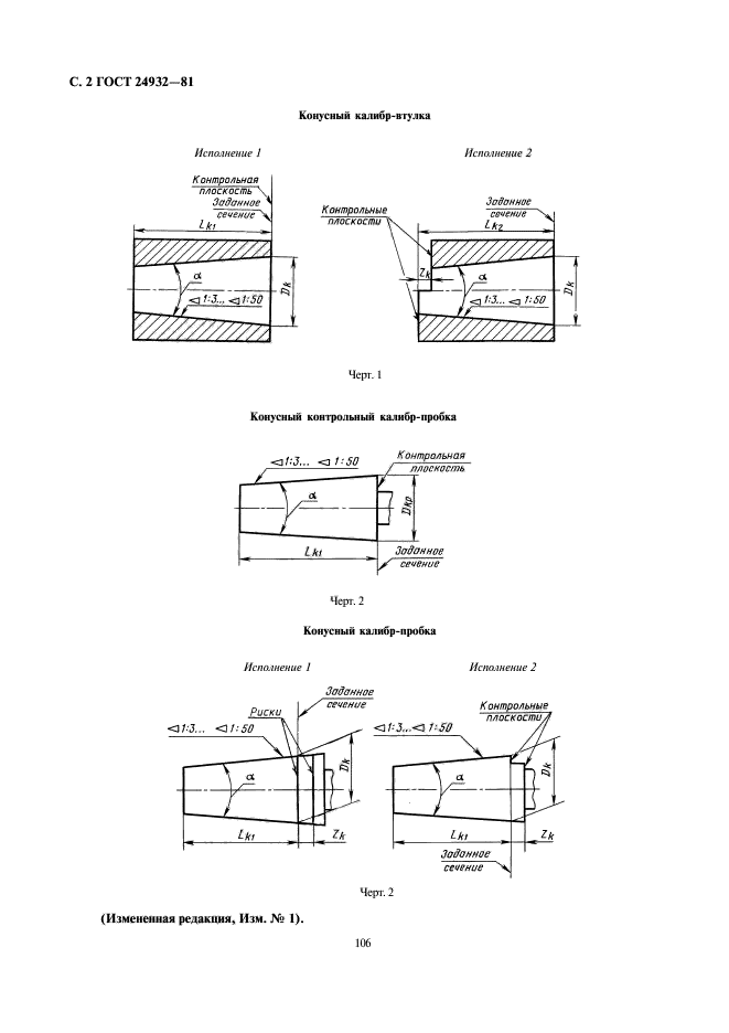
| Область применения: | Настоящий стандарт распространяется на калибры для гладких конусов с раздельным нормированием каждого вида допусков, с диаметрами в заданном сечении до 200 мм, конусностью от 1:3 до 1:50, с допусками диаметров от 6 до 12 квалитета, допусками углов конусов от 4 до 9 степени точности и устанавливает: виды и исполнения, формулы для определения размеров, допуски и комплектность калибров |
| Список изменений: | №1 от 01.01.1991 (рег. 22.02.1990) «Срок действия продлен» |
| Приложение №1: | Поправка к ГОСТ 24932-81 |
|