| Обозначение: |  ГОСТ 24956-81 |
| Статус: | действующий |
| Название рус.: | Титан и сплавы титановые. Метод определения водорода |
| Название англ.: | Titanium and titanium alloys. Method for the determination of hydrogen |
| Дата актуализации текста: | 06.04.2015 |
| Дата актуализации описания: | 01.07.2023 |
| Дата издания: | 01.02.1997 |
| Дата введения: | 01.01.1983 |
| Нормативные ссылки: | ГОСТ 1012-72; ГОСТ 1790-77; ГОСТ 2789-73; ГОСТ 3118-77; ГОСТ 4204-77; ГОСТ 4220-75; ГОСТ 4658-73; ГОСТ 5556-81; ГОСТ 5962-67; ГОСТ 9293-74; ГОСТ 18300-87; ГОСТ 25086-87 |
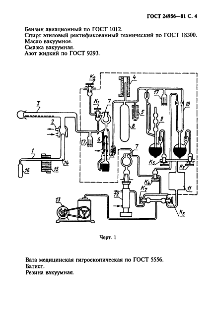
| Область применения: | Настоящий стандарт устанавливает метод вакуум-нагрева для определения водорода в титане и титановых сплавах (при массовой доле водорода от 0,0006 до 0,05%) |
| Список изменений: | №1 от 01.01.1988 (рег. 08.06.1987) «Поправка» №2 от 01.03.1993 (рег. 06.09.1992) «Срок действия продлен» №3 от 01.01.1998 (рег. 23.09.1997) «Срок действия продлен» |
|