| Обозначение: |  ГОСТ 18812-81 |
| Статус: | действующий |
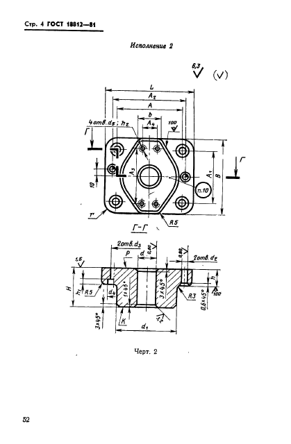
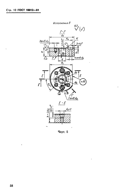
| Название рус.: | Штампы для листовой штамповки. Державки для направляющих ступенчатых колонок и направляющих втулок. Конструкция и размеры |
| Название англ.: | Sheet stamping dies. Holders for guide posts with flute and guide bushes. Design and dimensions |
| Дата актуализации текста: | 06.04.2015 |
| Дата актуализации описания: | 01.07.2023 |
| Дата издания: | 01.06.1987 |
| Дата введения: | 01.01.1982 |
| Код ОКП: | 396330 |
| Взамен: | ГОСТ 18812-73 |
| Содержит требования: | СТ СЭВ 1307-78 |
| Нормативные ссылки: | ГОСТ 1050-74; ГОСТ 1412-85; ГОСТ 13119-81; ГОСТ 22472-77; ГОСТ 24558-81; ГОСТ 24559-81; ГОСТ 24560-81; ГОСТ 24562-81; ГОСТ 24643-81 |
| Область применения: | Настоящий стандарт распространяется на державки, применяемые для крепления направляющих ступенчатых колонок по ГОСТ 13119-81, направляющих втулок по ГОСТ 24558-81 в направляющих узлах штампов и устанавливаемые по системе отверстия |
| Список изменений: | №1 от 01.01.1987 (рег. 25.03.1986) «Срок действия продлен» |
|