| Обозначение: |  ГОСТ 24679-81 |
| Статус: | действующий |
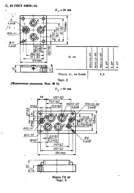
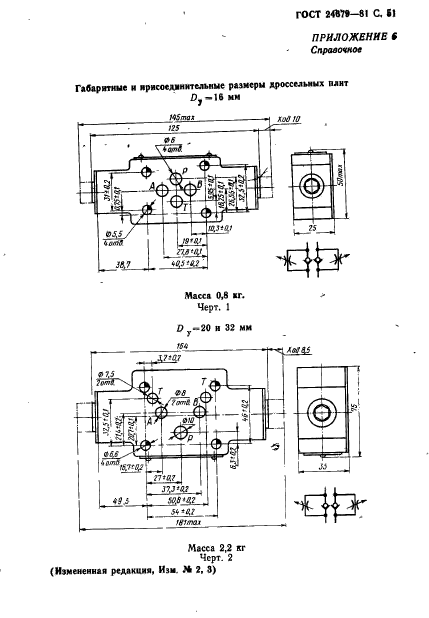
| Название рус.: | Гидрораспределители золотниковые четырехлинейные на Рном до 32 МПа. Технические условия |
| Название англ.: | Hydraulic four-way control valves for nominal pressure to 32 MPa. Specifications |
| Дата актуализации текста: | 06.04.2015 |
| Дата актуализации описания: | 01.07.2023 |
| Дата издания: | 01.05.1991 |
| Дата введения: | 01.01.1984 |
| Код ОКП: | 414430;414440 |
| Содержит требования: | СТ СЭВ 3057-81 |
| Нормативные ссылки: | ГОСТ 2.781-68; ГОСТ 9.032-74; ГОСТ 12.2.040-79; ГОСТ 12.2.086-83; ГОСТ 2991-85; ГОСТ 9833-73; ГОСТ 14254-80; ГОСТ 15108-80; ГОСТ 15150-69; ГОСТ 15151-69; ГОСТ 15841-88; ГОСТ 16517-82; ГОСТ 16536-90; ГОСТ 16962.1-89; ГОСТ 16962.2-90; ГОСТ 17216-71; ГОСТ 17411-81; ГОСТ 20245-74; ГОСТ 22976-78 |
| Область применения: | Настоящий стандарт распространяется на золотниковые четырехлинейные гидрораспределители типа В на Рном до 32 МПа (320 кгс/см кв.) со стыковым присоединением, предназначенные для гидроприводов станков, прессов и других стационарных машин, работающих при температуре окружающей среды от +1 до +55 град. С на минеральных маслах с кинематической вязкостью от 10 до 400 мм кв./с (сСт) и температурой от 0 до +70 град. С, изготовляемые для нужд народного хозяйства и для экспорта. Допускается работа гидрораспределителей на рабочей жидкости промгидрол при температуре от 1 до 60 град. С |
| Список изменений: | №0 от 20.06.1988 (рег. 19.06.1988) «Срок действия продлен» №1 от 01.01.1984 (рег. 17.05.1982) «Срок действия продлен» №2 от 01.01.1986 (рег. 23.07.1985) «Срок действия продлен» №3 от 01.01.1989 (рег. 16.08.1988) «Срок действия продлен» |
|