| Обозначение: |  ГОСТ 24611-81 |
| Статус: | действующий |
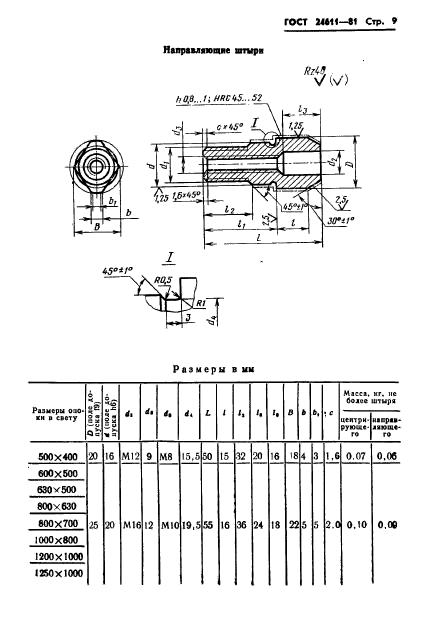
| Название рус.: | Плиты модельные кассетные. Основные параметры и размеры |
| Название англ.: | Magazine pattern plates. Basic parameters and dimensions |
| Дата актуализации текста: | 06.04.2015 |
| Дата актуализации описания: | 01.07.2023 |
| Дата издания: | 28.04.1981 |
| Дата введения: | 01.07.1982 |
| Код ОКП: | 396190 |
| Нормативные ссылки: | ГОСТ 1050-74; ГОСТ 16093-81; ГОСТ 24705-81 |
| Область применения: | Настоящий стандарт распространяется на модельные кассетные плиты для машинной формовки, применяемые для изготовления песчаных литейных форм на встряхивающих формовочных машинах. Настоящий стандарт не распространяется на плиты, применяемые при формовке различными методами прессования смеси при давлении свыше 0,5 МПа (5,1 кгс/см кв.), а также на модельные плиты с подогревом, применяемые при литье в оболочковые формы |
| Список изменений: | №1 от 01.05.1987 (рег. 04.12.1986) «Срок действия продлен» |
|