| Обозначение: |  ГОСТ 21779-82 |
| Статус: | не действует в РФ |
| Название рус.: | Система обеспечения точности геометрических параметров в строительстве. Технологические допуски |
| Название англ.: | System of ensuring of geometrical parameters accuracy in construction. Manufacturing and assembling tolerances |
| Дата актуализации текста: | 06.04.2015 |
| Дата актуализации описания: | 01.07.2023 |
| Дата издания: | 21.01.1983 |
| Дата введения: | 01.01.1983 |
| Дата окончания срока действия: | 01.01.2021 |
| Взамен: | ГОСТ 21779-76 |
| Содержит требования: | СТ СЭВ 2681-80 |
| На территории РФ пользоваться: | ГОСТ Р 58942-2020 |
| Нормативные ссылки: | ГОСТ 6636-69; ГОСТ 21778-81; ГОСТ 21780-76; ГОСТ 23615-79 |
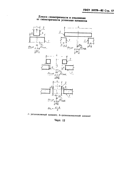
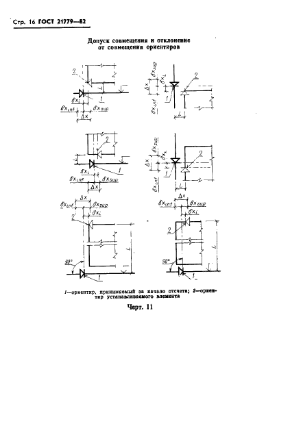
| Область применения: | Настоящий стандарт распространяется на проектирование и строительство зданий и сооружений, а также проектирование и изготовление элементов для них (конструкций, изделий, деталей) и устанавливает основные принципы регламентации, номенклатуру и значения технологических допусков геометрических параметров. Стандарт не устанавливает допуски шероховатости поверхностей |
|