| Обозначение: |  ГОСТ 25136-82 |
| Статус: | действующий |
| Название рус.: | Соединения трубопроводов. Методы испытаний на герметичность |
| Название англ.: | Pipe-line connections. Leak tightness test methods |
| Дата актуализации текста: | 06.04.2015 |
| Дата актуализации описания: | 01.07.2023 |
| Дата издания: | 01.02.1986 |
| Дата введения: | 01.01.1983 |
| Нормативные ссылки: | ГОСТ 3242-79; ГОСТ 24054-80 |
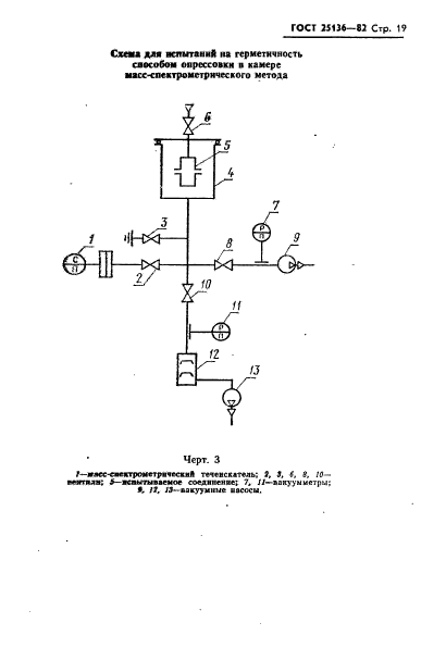
| Область применения: | Стандарт устанавливает требования к основным методам испытаний на герметичность соединений трубопроводов. Стандарт распространяется на разъемные соединения трубопроводов |
| Список изменений: | №0 от 25.06.1987 (рег. 24.06.1987) «Срок действия продлен» |
|