| Обозначение: |  ГОСТ 25109-82 |
| Статус: | действующий |
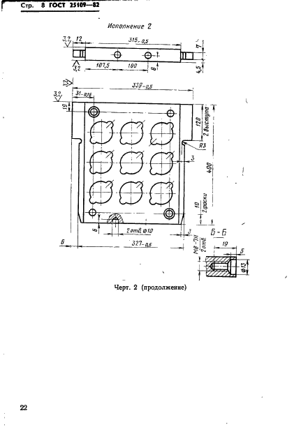
| Название рус.: | Блоки трехкассетных пресс-форм для изготовления резинотехнических изделий на прессах с размерами греющих плит 400х400 мм. Конструкция и размеры |
| Название англ.: | Blocks of three-casetta press moulds for producing the rubber technical parts on presses with dimensions heating plates 400x400 mm. Design and dimensions |
| Дата актуализации текста: | 06.04.2015 |
| Дата актуализации описания: | 01.07.2023 |
| Дата издания: | 13.04.1982 |
| Дата введения: | 01.01.1984 |
| Код ОКП: | 362600 |
| Нормативные ссылки: | ГОСТ 1050-74; ГОСТ 12486-67; ГОСТ 13941-80; ГОСТ 14901-79; ГОСТ 24269-80; ГОСТ 24270-80; ГОСТ 24276-80; ГОСТ 24319-80; ГОСТ 25108-82 |
| Область применения: | Настоящий стандарт распространяется на блоки трехкассетных пресс-форм в исполнениях 1 и 2 для изготовления резино-технических изделий на вулканизационных прессах с размерами греющих плит 400х400 мм |
|