Скачать ГОСТ 25269-82 Аэродромы. Дневная маркировка грунтовых аэродромовДата актуализации: 01.06.2025 ГОСТ 25269-82
Аэродромы. Дневная маркировка грунтовых аэродромов
| Обозначение: |  ГОСТ 25269-82 |
| Статус: | действующий |
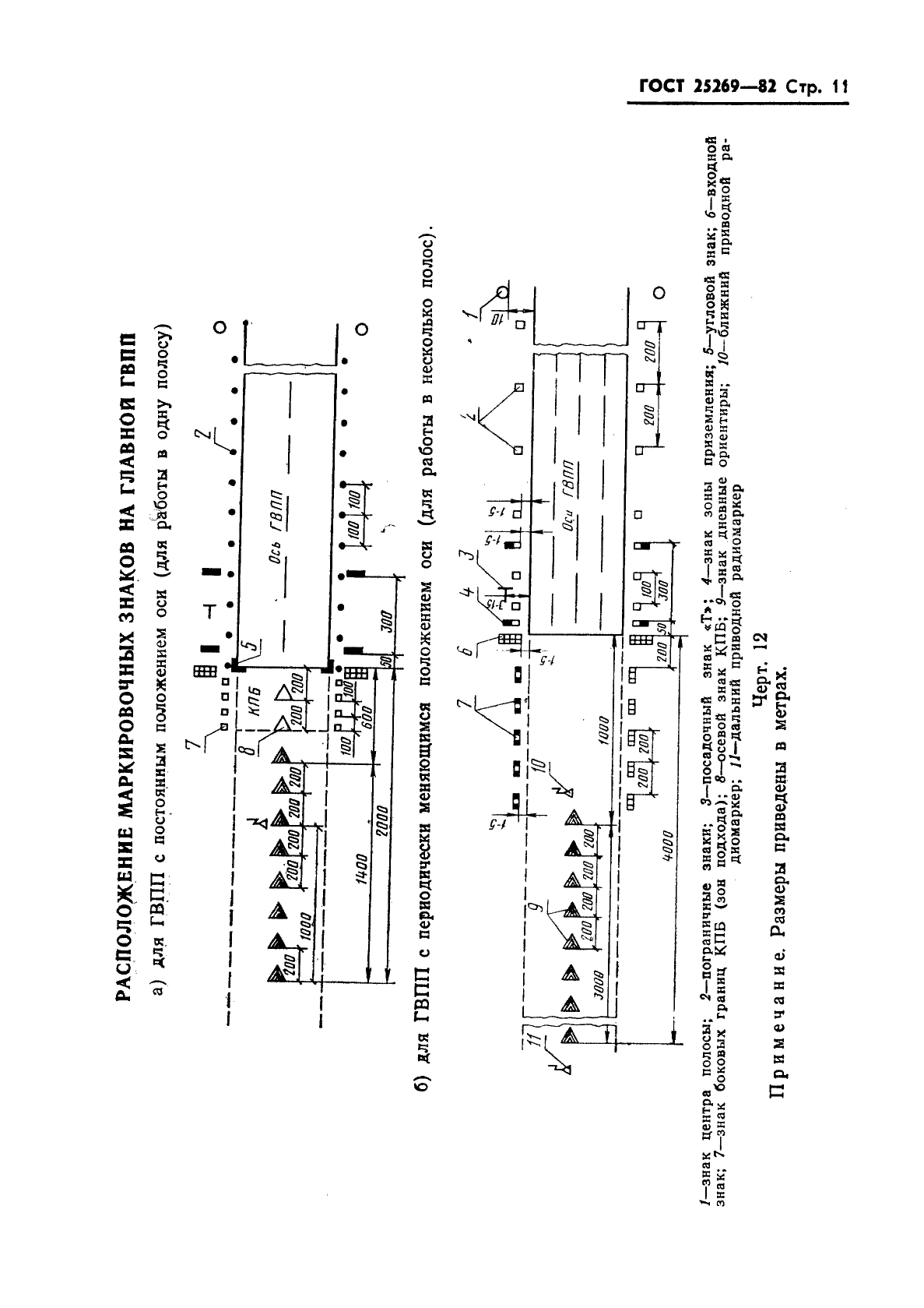
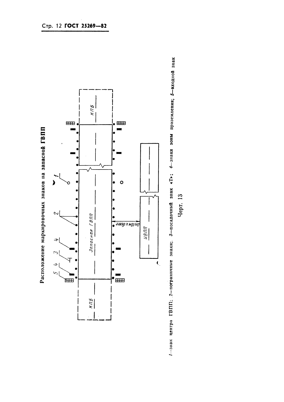
| Название рус.: | Аэродромы. Дневная маркировка грунтовых аэродромов | | Название англ.: | Airfields. Day marking unpaved airfields | | Дата актуализации текста: | 06.04.2015 | | Дата актуализации описания: | 01.07.2023 | | Дата издания: | 09.09.1982 | | Дата введения: | 01.07.1983 | | Код ОКП: | 750000 | | Область применения: | Настоящий стандарт устанавливает требования к дневной маркировке главных, запасных и вспомогательных грунтовых взлетно-посадочных полос, рулежных дорожек, мест стоянок и перронов, а также назначение маркировочных знаков, их размеры, форму, цвет и расположение на грунтовых аэродромах | |
             
|