| Обозначение: |  ГОСТ 25919-83 |
| Статус: | действующий |
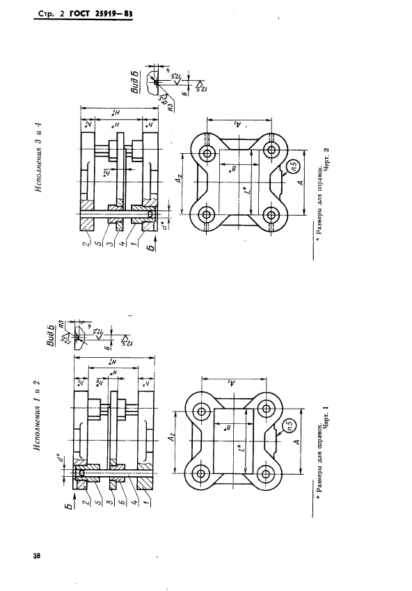
| Название рус.: | Штампы для листовой штамповки. Блоки штампов с промежуточной плитой с четырьмя направляющими узлами скольжения. Конструкция и размеры |
| Название англ.: | Sheet stamping dies. Die sets with intermediate plate with four guide sliding assemblies. Design and dimensions |
| Дата актуализации текста: | 06.04.2015 |
| Дата актуализации описания: | 01.07.2023 |
| Дата издания: | 12.12.1983 |
| Дата введения: | 01.07.1984 |
| Код ОКП: | 396330 |
| Содержит требования: | СТ СЭВ 3327-81 |
| Нормативные ссылки: | ГОСТ 13118-83; ГОСТ 13121-83; ГОСТ 13130-83; ГОСТ 14677-83; ГОСТ 25920-83 |
| Область применения: | Настоящий стандарт распространяется на блоки с промежуточной плитой с четырьмя направляющими узлами скольжения для штампов совмещенного действия и для штампов с верхним прижимом с плитами из чугунного и стального литья |
|