Скачать ГОСТ 25671-83 Соединители плоские втычные. Типы, конструкция и размерыДата актуализации: 01.06.2025 ГОСТ 25671-83
Соединители плоские втычные. Типы, конструкция и размеры
| Обозначение: |  ГОСТ 25671-83 |
| Статус: | действующий |
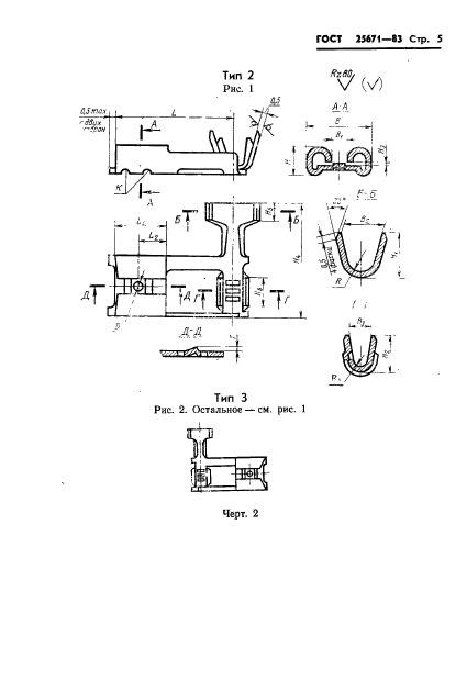
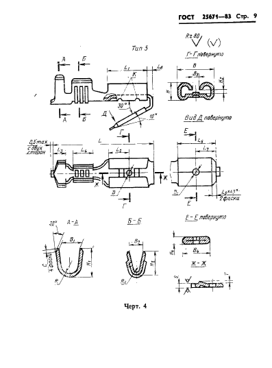
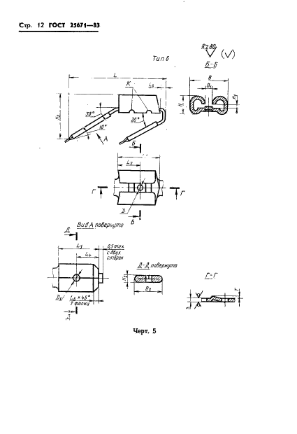
| Название рус.: | Соединители плоские втычные. Типы, конструкция и размеры | | Название англ.: | Flat pluq-in connectors. Types, construction and sizes | | Дата актуализации текста: | 06.04.2015 | | Дата актуализации описания: | 01.01.2021 | | Дата издания: | 31.05.1983 | | Дата введения: | 01.01.1985 | | Код ОКП: | 342949 | | Нормативные ссылки: | ГОСТ 24566-86 | | Область применения: | Настоящий стандарт распространяется на плоские втычные соединители, предназначенные для разъемного контакта соединения проводов, шнуров и кабелей с медными многопроволочными жилами сечением от 0,35 до 10 мм кв. между собой и присоединеиия указанных проводов к электрическим устройствам | | Список изменений: | №1 от 01.03.1989 (рег. 04.11.1988) «Поправка» | |
                   
|