| Обозначение: |  ГОСТ 25982-83 |
| Статус: | действующий |
| Название рус.: | Наконечники стоматологические к микроприводу. Общие технические условия |
| Название англ.: | Dental handpieces for micromotors. General specifications |
| Дата актуализации текста: | 06.04.2015 |
| Дата актуализации описания: | 01.07.2023 |
| Дата издания: | 01.11.1988 |
| Дата введения: | 01.07.1984 |
| Код ОКП: | 945226 |
| Содержит требования: | СТ СЭВ 1455-78;СТ СЭВ 3933-82;СТ СЭВ 5462-85 |
| Нормативные ссылки: | ISO 3964;ISO 1797:1985; ГОСТ 2.601-68; ГОСТ 2.602-68; ГОСТ 9.014-78; ГОСТ 9.301-86; ГОСТ 9.302-79; ГОСТ 9.303-84; ГОСТ 9.306-85; ГОСТ 12.1.026-80; ГОСТ 12.1.028-80; ГОСТ 2789-73; ГОСТ 2930-62; ГОСТ 9378-75; ГОСТ 15150-69; ГОСТ 17187-81; ГОСТ 19300-86; ГОСТ 20790-82; ГОСТ 20799-75; ГОСТ 21339-82; ГОСТ 23256-86; ГОСТ 23676-79; ГОСТ 25148-82 |
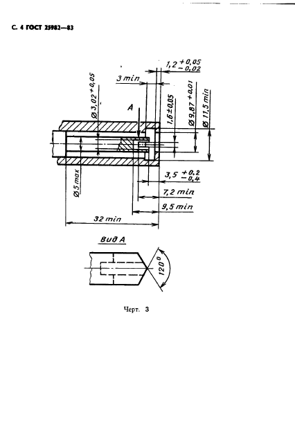
| Область применения: | Настоящий стандарт распространяется на стоматологические наконечники, предназначенные для крепления инструментов с хвостовиком диаметром 2,35 мм и передачи им вращения от микропривода для проведения зубоврачебных работ в клинических условиях и изготовляемые для нужд народного хозяйства и экспорта в страны с умеренным и тропическим климатом. Настоящий стандарт не распространяется на наконечники для уплотнения амальгамы, наконечники для зуботехнических работ и эндодонтические наконечники |
| Список изменений: | №1 от 01.07.1987 (рег. 20.03.1987) «Срок действия продлен» №2 от 01.01.1990 (рег. 30.11.1988) «Поправка» №3 от 01.07.1990 (рег. 15.01.1990) «Срок действия продлен» |
|