| Обозначение: |  ГОСТ 26113-84 |
| Статус: | действующий |
| Название рус.: | Процедуры управления звеном передачи данных. Элементы балансных процедур при одновременной двусторонней передаче информации и защиты от ошибок |
| Название англ.: | High level data link control procedures. Elements of balanced procedures by the two-way simul-taneous data communication and error recovery |
| Дата актуализации текста: | 06.04.2015 |
| Дата актуализации описания: | 01.07.2023 |
| Дата издания: | 19.06.1984 |
| Дата введения: | 01.07.1985 |
| Код ОКП: | 665600 |
| Нормативные ссылки: | ISO 3309;ISO 4335;ISO 6256; ГОСТ 22348-77; ГОСТ 24734-81; ГОСТ 25873-83 |
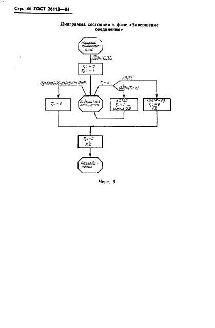
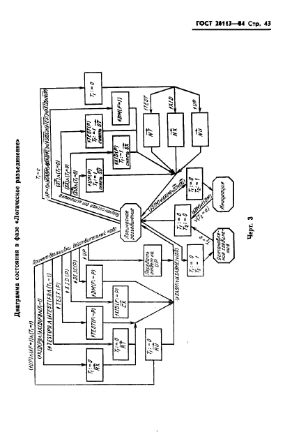
| Область применения: | Настоящий стандарт распространяется на балансные процедуры управления двухпунктовым звеном передачи данных (ПД) по одному незащищенному от ошибок каналу ПД, организованному на базе Единой автоматизированной сети связи, с кодонезависимостью, ориентированной на биты, и применяемые на абонентских и межцентровых участках сетей ПД общего пользования для переноса сообщений или пакетов данных переменной длины. Настоящий стандарт распространяется на аппаратуру, техническое задание на которую утверждено до 01.01.90.Стандарт не распространяется на процедуры при двусторонней поочередной и односторонней передаче информации, а также на процедуры, не использующие для защиты от ошибок циклические коды |
| Список изменений: | №1 от 01.07.1990 (рег. 27.03.1990) «Срок действия продлен» |
|