| Обозначение: |  ГОСТ 26391-84 |
| Статус: | действующий |
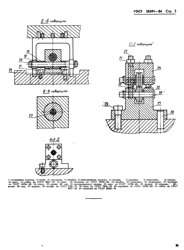
| Название рус.: | Механизмы шарико-клиновые для подачи проволоки диаметром от 1 до 3 мм. Основные и присоединительные размеры |
| Название англ.: | Ball-wedge mechanisms for wire feeding diameter from 1 to 3 mm. Basic and coupling dimensions |
| Дата актуализации текста: | 06.04.2015 |
| Дата актуализации описания: | 01.07.2023 |
| Дата издания: | 22.03.1985 |
| Дата введения: | 01.01.1986 |
| Код ОКП: | 396190 |
| Нормативные ссылки: | ГОСТ 3128-70; ГОСТ 5927-70; ГОСТ 7805-70; ГОСТ 11738-84; ГОСТ 18793-80; ГОСТ 18794-80; ГОСТ 22036-76 |
| Область применения: | Настоящий стандарт устанавливает основные и присоединительные размеры шарико-клиновых механизмов |
|