| Обозначение: |  ГОСТ 26389-84 |
| Статус: | действует только в РФ |
| Название рус.: | Соединения сварные. Методы испытаний на сопротивляемость образованию горячих трещин при сварке плавлением |
| Название англ.: | Welded joints. Test methods on resistance to shrinkage crack formation under fusion welding |
| Дата актуализации текста: | 06.04.2015 |
| Дата актуализации описания: | 01.07.2023 |
| Дата издания: | 22.02.1985 |
| Дата введения: | 01.01.1986 |
| Нормативные ссылки: | ГОСТ 7855-84; ГОСТ 15533-80 |
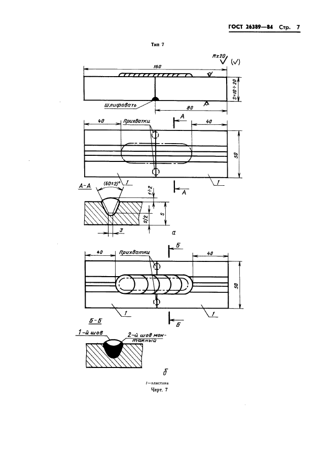
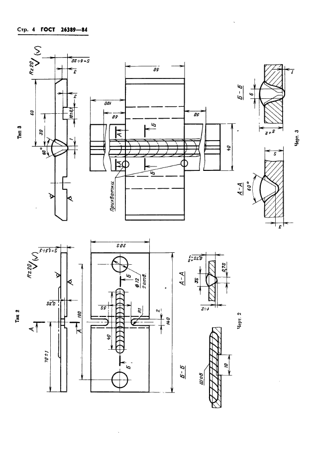
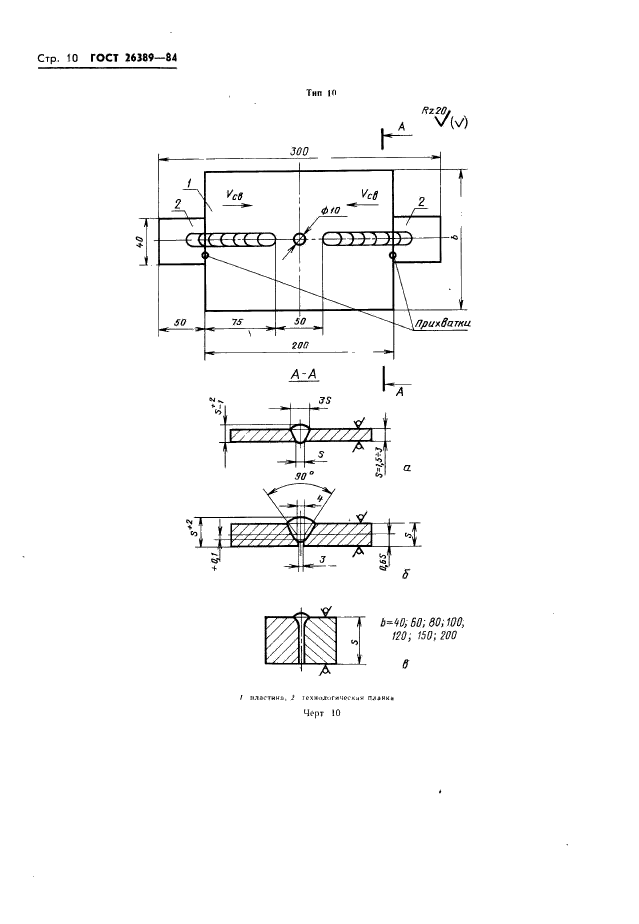
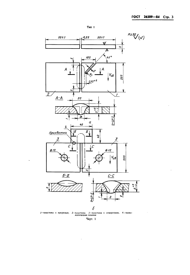
| Область применения: | Настоящий стандарт устанавливает методы испытаний на сопротивляемость образованию горячих трещин металла шва и зоны сплавления сварных соединений конструкционных сплавов толщиной 1,5 мм и более при всех способах сварки плавлением и имитации сварочного термического цикла |
| Список изменений: | №0 от 01.03.2000 (рег. 14.10.1999) «Восстановлен на территории РФ» |
|