| Обозначение: |  ГОСТ 26306-84 |
| Статус: | действующий |
| Название рус.: | Источники бета-излучения радионуклидные закрытые. Методы измерения параметров |
| Название англ.: | Sealed radionuclidic beta-radiation sources. Methods of parameters measurement |
| Дата актуализации текста: | 06.04.2015 |
| Дата актуализации описания: | 01.07.2023 |
| Дата издания: | 14.01.1985 |
| Дата введения: | 01.01.1986 |
| Код ОКП: | 701600 |
| Нормативные ссылки: | ГОСТ 15484-81; ГОСТ 25504-82;СТ СЭВ 876-78;ОСП-72/87;НРБ-76/87;ОСТ 6-09-97-82 |
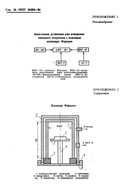
| Область применения: | Настоящий стандарт распространяется на закрытые радионуклидные источники бета-излучения и устанавливает методы измерения основных радиационных параметров источников. Настоящий стандарт не распространяется на методы аттестации эталонных, образцовых и рабочих источников |
| Список изменений: | №1 от 01.01.1991 (рег. 08.04.1990) «Срок действия продлен» |
|