| Обозначение: |  ГОСТ 26581-85 |
| Статус: | действующий |
| Название рус.: | Смазки пластичные. Метод определения эффективной вязкости на ротационном вискозиметре |
| Название англ.: | Greases. Method of test for effective viscosity on a rotary viscosimeter |
| Дата актуализации текста: | 06.04.2015 |
| Дата актуализации описания: | 01.07.2023 |
| Дата издания: | 04.10.1985 |
| Дата введения: | 01.07.1986 |
| Код ОКП: | 025400 |
| Нормативные ссылки: | ГОСТ 443-76; ГОСТ 2768-84; ГОСТ 18300-87; ГОСТ 2517-85; ГОСТ 8505-80; ГОСТ 17299-78; ГОСТ 12026-76; ГОСТ 5556-81 |
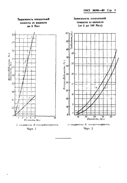
| Область применения: | Настоящий стандарт устанавливает метод определения эффективной вязкости пластичных смазок специального назначения на устройстве для измерения вязкости в диапазоне 0,1 - 3х(10 в ст. 2) Па.с на устройстве "цилиндр", в диапазоне 0,1 - 4х(10 в ст. 5) Па.с на устройстве "конус-плита".Метод не распространяется на пластичные смазки общего назначения |
| Список изменений: | №1 от 01.05.1991 (рег. 30.10.1990) «Срок действия продлен» |
|