| Обозначение: |  ГОСТ 18101-85 |
| Статус: | действующий |
| Название рус.: | Станки продольно-фрезерные. Нормы точности и жесткости |
| Название англ.: | Plano-milling machines. Standards of accuracy and rigidity |
| Дата актуализации текста: | 06.04.2015 |
| Дата актуализации описания: | 01.07.2023 |
| Дата издания: | 21.10.1985 |
| Дата введения: | 01.07.1986 |
| Код ОКП: | 381660 |
| Взамен: | ГОСТ 18101-79 |
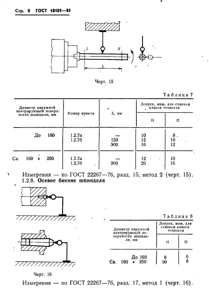
| Нормативные ссылки: | ГОСТ 8-82; ГОСТ 7035-75; ГОСТ 22267-76; ГОСТ 25443-82; ГОСТ 25889.1-83; ГОСТ 25889.2-83; ГОСТ 25889.3-83; ГОСТ 27843-88 |
| Область применения: | Настоящий стандарт распространяется на одно- и двухстоечные продольно-фрезерные и продольные фрезерно-расточные станки общего назначения классов точности Н и П, в том числе на станки с программным управлением, изготовляемые для нужд народного хозяйства и на экспорт |
| Список изменений: | №1 от 01.01.1991 (рег. 14.03.1990) «Срок действия продлен» |
|