| Обозначение: |  ГОСТ 26616-85 |
| Статус: | действующий |
| Название рус.: | Пакеты съемных многоместных пресс-форм для изготовления манжет гидравлических устройств. Конструкция и размеры |
| Название англ.: | Sets of portable multi-impression press moulas for manufacturing of rubber u-packing seals. Design and dimensions |
| Дата актуализации текста: | 06.04.2015 |
| Дата актуализации описания: | 01.07.2023 |
| Дата издания: | 07.03.1986 |
| Дата введения: | 01.07.1986 |
| Код ОКП: | 396381 |
| Нормативные ссылки: | ГОСТ 9.073-77; ГОСТ 2930-62; ГОСТ 4543-71; ГОСТ 14896-84; ГОСТ 14901-79; ГОСТ 24342-80 |
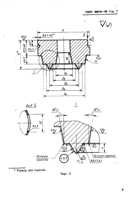
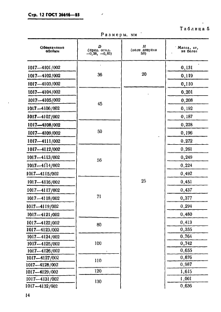
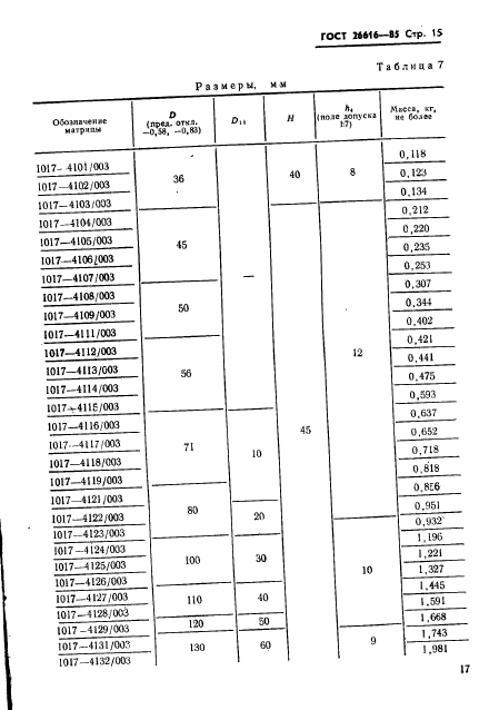
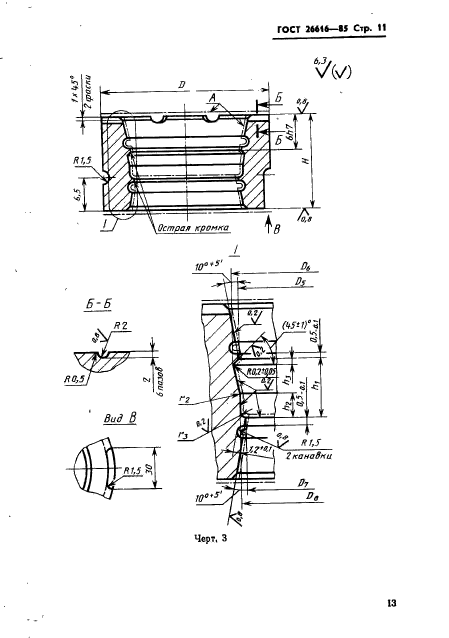
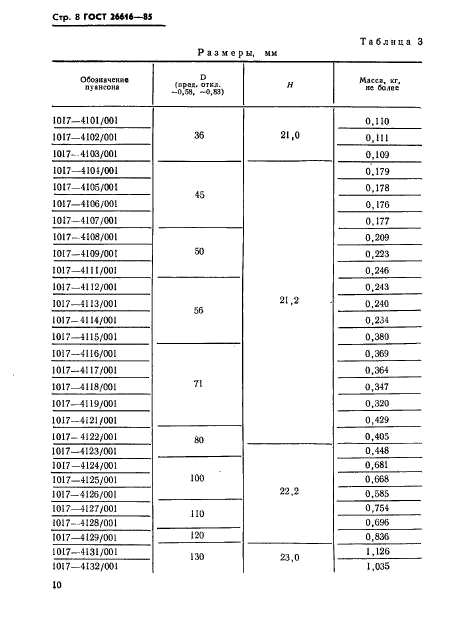
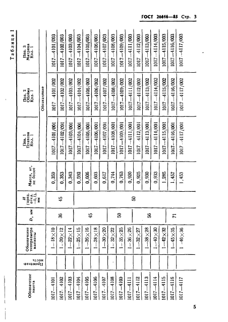
| Область применения: | Настоящий стандарт распространяется на пакеты для изготовления резиновых уплотнительных манжет по ГОСТ 14896-84 типов 1 и 3 размерами от 18х10 до 110х90 мм. Пакеты предназначены для установки в блоки съемных многоместных пресс-форм по ГОСТ 24342-80 |
|