| Обозначение: |  ГОСТ 8847-85 |
| Статус: | действующий |
| Название рус.: | Полотна трикотажные. Методы определения разрывных характеристик и растяжимости при нагрузках, меньше разрывных |
| Название англ.: | Knitted fabrics. Methods for determination of breaking characteristics and extensibility under loads less than breaking loads |
| Дата актуализации текста: | 06.04.2015 |
| Дата актуализации описания: | 01.07.2023 |
| Дата издания: | 11.02.1986 |
| Дата введения: | 01.01.1987 |
| Код ОКП: | 847000 |
| Взамен: | ГОСТ 8847-75 |
| Заменяющий в части: | ГОСТ 28239-89 разд. 4 в части метода определения необратимой деформации |
| Нормативные ссылки: | ГОСТ 5072-79; ГОСТ 8844-75; ГОСТ 427-75 |
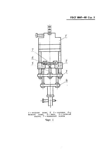
| Область применения: | Настоящий стандарт распространяется на отделанные трикотажные полотна и искусственный трикотажный мех бытового и технического назначения, на суровые товарные полотна из всех видов пряжи и нитей и устанавливает методы определения: разрывных характеристик при разрыве полотна; разрывных характеристик при продавливании полотна шариком (кроме искусственного трикотажного меха); растяжимости при нагрузках, меньше разрывных, и необратимой деформации. Стандарт не распространяется: на трикотажные полотна с эффектом "плиссе" и "гофре"; на трикотажные основовязаные полотна с применением полиуретановых эластомерных нитей в части определения растяжимости при нагрузках, меньше разрывных |
| Список изменений: | №1 от 01.01.1990 (рег. 18.06.1989) «Срок действия продлен» |
|