| Обозначение: |  ГОСТ 25878-85 |
| Статус: | заменён |
| Название рус.: | Формы стальные для изготовления железобетонных изделий. Поддоны. Конструкция и размеры |
| Название англ.: | Steel moulds for reinforced concrete members. Pallets. Construction and dimensions |
| Дата актуализации текста: | 06.04.2015 |
| Дата актуализации описания: | 01.07.2023 |
| Дата издания: | 01.03.1994 |
| Дата введения: | 01.01.1987 |
| Дата окончания срока действия: | 01.09.2019 |
| Код ОКП: | 484221;484224 |
| Взамен: | ГОСТ 25878.2-83; ГОСТ 25878.3-83 |
| Заменяющий: | ГОСТ 25878-2018 |
| Нормативные ссылки: | ГОСТ 2.312-72; ГОСТ 9.301-86; ГОСТ 9.303-84; ГОСТ 103-76; ГОСТ 380-88; ГОСТ 397-79; ГОСТ 977-88; ГОСТ 1050-88; ГОСТ 2591-88; ГОСТ 2789-73; ГОСТ 3212-92; ГОСТ 5264-80; ГОСТ 5781-82; ГОСТ 5919-73; ГОСТ 6357-81; ГОСТ 7505-89; ГОСТ 7798-70; ГОСТ 8239-89; ГОСТ 8240-89; ГОСТ 8338-75; ГОСТ 8339-84; ГОСТ 8509-86; ГОСТ 8510-86; ГОСТ 8752-79; ГОСТ 11534-75; ГОСТ 11871-88; ГОСТ 11872-89; ГОСТ 14771-76; ГОСТ 14792-80; ГОСТ 14959-79; ГОСТ 18511-73; ГОСТ 19903-74; ГОСТ 19904-90; ГОСТ 23117-91; ГОСТ 23518-79; ГОСТ 25346-89; ГОСТ 25781-83; ГОСТ 25878-85; ГОСТ 26645-85;ТУ 16.1271-088-90 |
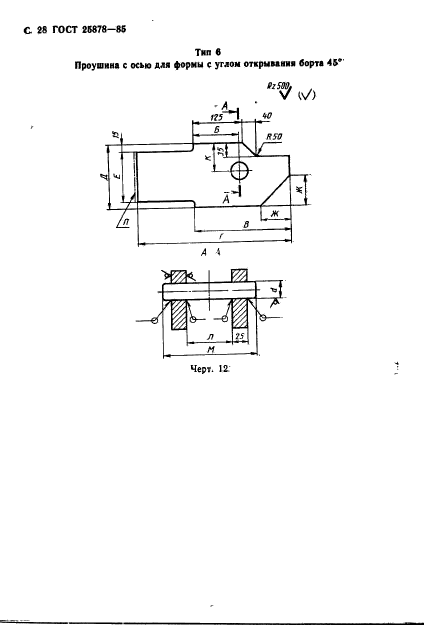
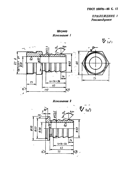
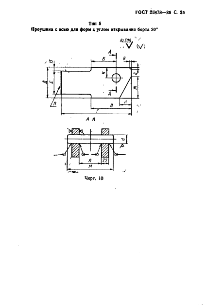
| Область применения: | Настоящий стандарт распространяется на поддоны стальных форм для изготовления железобетонных изделий и устанавливает требования к конструкции и размерам основных сборочных единиц и деталей поддонов |
| Список изменений: | №1 от 01.01.1991 (рег. 30.10.1990) «Срок действия продлен» |
|