| Обозначение: |  ГОСТ 21251-85 |
| Статус: | действующий |
| Название рус.: | Пневмораспределители пятилинейные золотниковые. Технические условия |
| Название англ.: | Spool-type pneumatic directional control valves with 5 ports. Specifications |
| Дата актуализации текста: | 06.04.2015 |
| Дата актуализации описания: | 01.07.2023 |
| Дата издания: | 06.03.1986 |
| Дата введения: | 01.01.1987 |
| Код ОКП: | 415151 |
| Взамен: | ГОСТ 21251-75 |
| Нормативные ссылки: | ISO 5599-1; ГОСТ 2.601-68; ГОСТ 12.2.101-84; ГОСТ 12.3.001-73; ГОСТ 2991-85; ГОСТ 5959-80; ГОСТ 6111-52; ГОСТ 9396-88; ГОСТ 12449-80; ГОСТ 12997-84; ГОСТ 14254-80; ГОСТ 15108-80; ГОСТ 15150-69; ГОСТ 15151-69; ГОСТ 17433-80; ГОСТ 18460-81; ГОСТ 19862-87; ГОСТ 22976-78; ГОСТ 24054-80; ГОСТ 24705-81; ГОСТ 25069-81 |
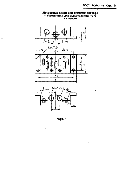
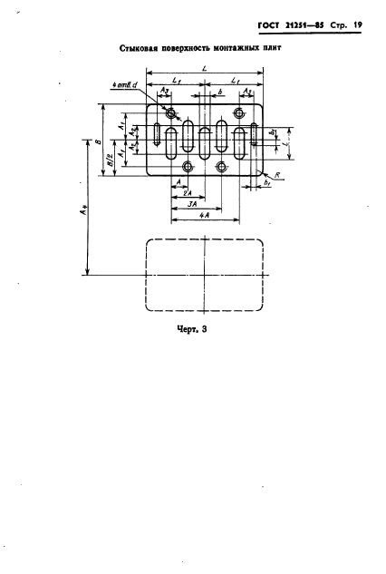
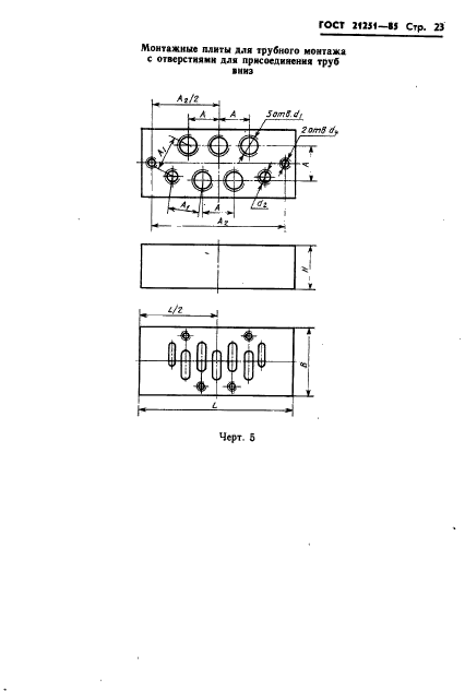
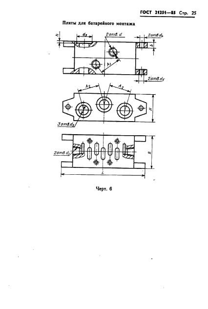
| Область применения: | Настоящий стандарт распространяется на пятилинейные пневмораспределители для пневмоприводов на номинальное давление 1,0 МПа с цилиндрическим золотником и эластичными уплотнителями, изготовляемые для нужд народного хозяйства и для экспорта. Стандарт не распространяется на распределители тормозных систем транспортных средств |
| Список изменений: | №1 от 01.07.1993 (рег. 26.08.1992) «Срок действия продлен» |
|