| Обозначение: |  ГОСТ 26506-85 |
| Статус: | действующий |
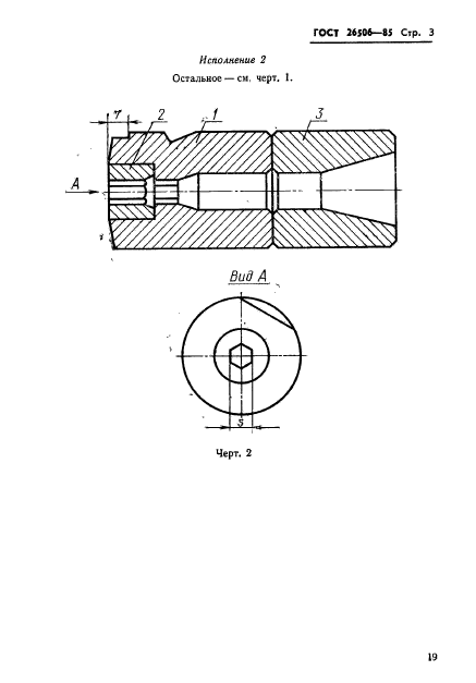
| Название рус.: | Инструмент для холодноштамповочных автоматов. Матрицы для отрезки заготовок гаек. Конструкция и размеры |
| Название англ.: | Tools for cold-forming machines. Dies for cutting ofnut blanks. Construction and dimensions |
| Дата актуализации текста: | 06.04.2015 |
| Дата актуализации описания: | 01.07.2023 |
| Дата издания: | 29.10.1985 |
| Дата введения: | 01.07.1987 |
| Код ОКП: | 396329 |
| Нормативные ссылки: | ГОСТ 26405-84; ГОСТ 5915-70; ГОСТ 24643-81; ГОСТ 4543-71; ГОСТ 1435-74; ГОСТ 5927-70; ГОСТ 5929-70 |
| Область применения: | Настоящий стандарт распространяется на матрицы с твердосплавными вставками для отрезки гаек номинальным диаметром резьбы от 4 до 20 мм |
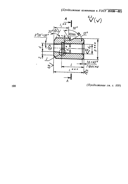
| Список изменений: | №1 от 01.01.1991 (рег. 19.12.1989) «Срок действия продлен» |
|