| Обозначение: |  ГОСТ 26513-85 |
| Статус: | действующий |
| Название рус.: | Инструмент для холодноштамповочных автоматов. Пуансоны второго перехода. Конструкция и размеры |
| Название англ.: | Tools for cold-forming machines. 2-D station punches. Construсtion and dimensions |
| Дата актуализации текста: | 06.04.2015 |
| Дата актуализации описания: | 01.07.2023 |
| Дата издания: | 29.10.1985 |
| Дата введения: | 01.07.1987 |
| Код ОКП: | 396329 |
| Нормативные ссылки: | ГОСТ 26405-84; ГОСТ 5915-70; ГОСТ 5927-70; ГОСТ 5929-70; ГОСТ 5950-73; ГОСТ 2524-70; ГОСТ 24643-81; ГОСТ 19265-73; ГОСТ 14959-79 |
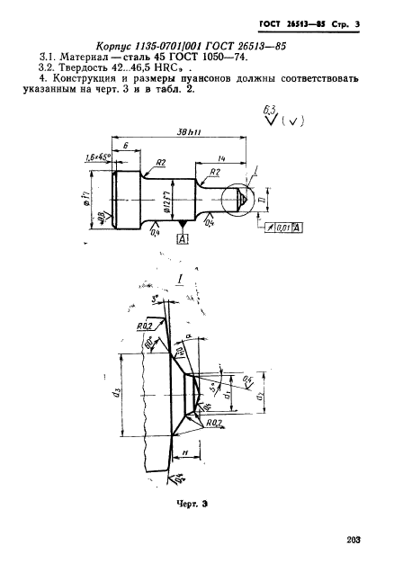
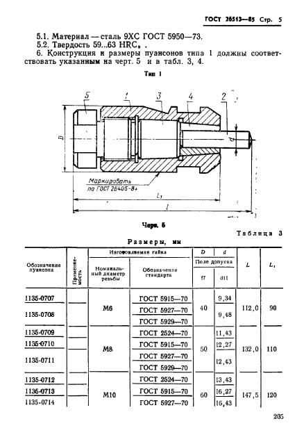
| Область применения: | Настоящий стандарт распространяется на пуансоны второго перехода к автомату АА1617 и пуансоны типа 1, 2 к автоматам АВ1818, АВ1819, АВ1820, АВ1821, АВ1822, АВ1823 для высадки заготовок гаек номинальным диаметром резьбы от 4 до 20 мм |
| Список изменений: | №1 от 01.01.1991 (рег. 19.12.1989) «Срок действия продлен» |
|